授权公布号:CN116408653B
一种运输车厢板生产用打孔攻丝装置
有效
申请
2023-06-08
申请公布
2023-07-11
授权
2023-08-08
预估到期
2043-06-08
| 申请号 | CN202310676699.2 |
| 申请日 | 2023-06-08 |
| 申请公布号 | CN116408653A |
| 申请公布日 | 2023-07-11 |
| 授权公布号 | CN116408653B |
| 授权公告日 | 2023-08-08 |
| 分类号 | B23P23/02;B23B41/00;B23B47/00;B23Q3/06;B23Q15/22;B23G1/44 |
| 分类 | 机床;不包含在其他类目中的金属加工; |
| 申请人名称 | 河南新飞专用汽车有限责任公司 |
| 申请人地址 | 河南省新乡市高新技术开发区新一街339号 |
专利法律状态
2023-08-08
授权
状态信息
授权
2023-07-28
实质审查的生效
状态信息
实质审查的生效;IPC(主分类):B23P23/02;申请日:20230608
2023-07-11
公布
状态信息
公布
摘要
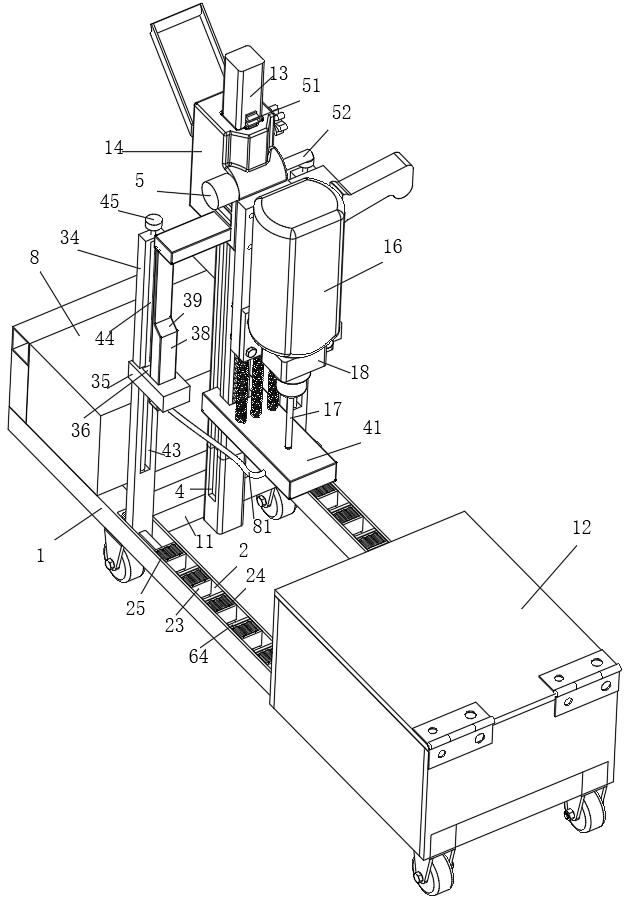
本发明属于机械加工技术领域,具体的说是一种运输车厢板生产用打孔攻丝装置,包括放置轨和固定轨;一对所述放置轨之间固接有固定轨;所述固定轨中部固接有方形柱;所述方形柱上套设有回形块,且回形块通过升降机构在方形柱上上下移动;所述回形块侧壁上固接有固定盘;所述固定盘侧壁上固接有夹持环,且夹持环两端通过螺栓连接;所述夹持环内夹持固定有攻丝机,且攻丝机的输出端设有转攻一体复合丝锥;一对所述放置轨上开设有第一凹槽,且第一凹槽两侧侧壁上均开设有一组第一滑槽;以解决厢板较为沉重,搬运不便较为费时费力,而利用滚轮推入,在进行打孔时,会因厢板是放置在滚轮上易出现晃动偏移,导致出现打孔错位或者打孔报废的情况的问题。


