授权公布号:CN116395553B
一种冷藏车用导轨配套升降装卸机构
有效
申请
2023-06-02
申请公布
2023-07-07
授权
2023-08-11
预估到期
2043-06-02
| 申请号 | CN202310650255.1 |
| 申请日 | 2023-06-02 |
| 申请公布号 | CN116395553A |
| 申请公布日 | 2023-07-07 |
| 授权公布号 | CN116395553B |
| 授权公告日 | 2023-08-11 |
| 分类号 | B66C7/08;B66C7/00;B66C1/34;B66C15/00;B66C13/06 |
| 分类 | 卷扬;提升;牵引; |
| 申请人名称 | 河南新飞专用汽车有限责任公司 |
| 申请人地址 | 河南省新乡市高新技术开发区新一街339号 |
专利法律状态
2023-08-11
授权
状态信息
授权
2023-07-25
实质审查的生效
状态信息
实质审查的生效;IPC(主分类):B66C7/08;申请日:20230602
2023-07-07
公布
状态信息
公布
摘要
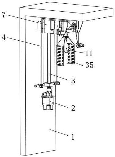
本发明属于冷链技术领域,具体的说是一种冷藏车用导轨配套升降装卸机构;包括L型支座,所述L型支座的内侧壁上固定安装有电机,所述电机的输出端与丝杆固接,所述丝杆的顶端与L型支座的顶端底部转动连接,所述丝杆上螺纹连接有丝杆螺母副,背离L型支座的所述丝杆螺母副的一侧端面上固接有安装座,所述安装座上固接有导轨;本发明通过电机配合丝杆带动导轨升降,实现了冷鲜肉从冷藏车到冷库的平稳输送,避免了现有技术中长期使用电动绞盘后,冷藏车顶板容易出现的塌顶或是变形的情况,且解决了使用电动绞盘卸货时需要频繁的进行挂钩挂摘的繁琐操作,减小了工作人员的工作强度,提高了工作效率。


