授权公布号:CN219511944U
一种机械拉伸强度检测装置
有效
申请
2022-11-02
申请公布
1970-01-01
授权
2023-08-11
预估到期
2032-11-02
| 申请号 | CN202222950507.6 |
| 申请日 | 2022-11-02 |
| 授权公布号 | CN219511944U |
| 授权公告日 | 2023-08-11 |
| 分类号 | G01N3/02;G01N3/08 |
| 分类 | 测量;测试; |
| 申请人名称 | 浙江长盛滑动轴承股份有限公司 |
| 申请人地址 | 浙江省嘉兴市嘉善县惠民街道鑫达路6号 |
专利法律状态
2023-08-11
授权
状态信息
授权
摘要
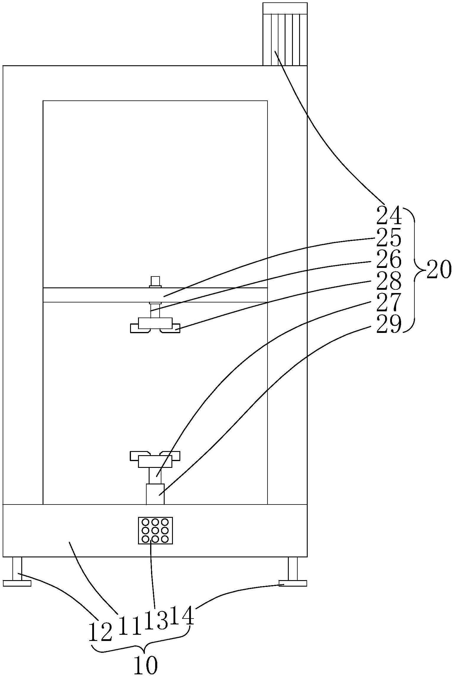
一种机械拉伸强度检测装置,其包括基座,以及拉伸单元。所述基座包括基座主体,以及支脚。所述拉伸单元包括支撑架,滑杆,丝杆,以及伺服电机。所述滑杆与丝杆上设置有支撑杆,所述支撑杆的中部区域设置有第一夹爪,所述基座与所述第一夹爪对应的端面上设置有第二夹爪。所述第一夹爪以及第二夹爪皆包括螺纹套管,螺纹轴,以及三爪卡盘。所述第二夹爪与所述基座之间设置有拉力传感器。所述伺服电机带动所述支撑杆往远离所述基座的方向移动。该机械拉伸强度检测装置通过在所述第一螺纹轴以及第二螺纹轴上螺接设置一个所述三爪卡盘,使其在使用时,可根据不同工件的规格更换不同规格的所述三爪卡盘,提高了该检测装置的实用性。


