授权公布号:CN217664781U
一种在线监测产品高度的工装
有效
申请
2022-06-14
申请公布
1970-01-01
授权
2022-10-28
预估到期
2032-06-14
| 申请号 | CN202221483777.4 |
| 申请日 | 2022-06-14 |
| 授权公布号 | CN217664781U |
| 授权公告日 | 2022-10-28 |
| 分类号 | B07C5/34;G01B11/14;G08B21/24 |
| 分类 | 将固体从固体中分离;分选; |
| 申请人名称 | 浙江长盛滑动轴承股份有限公司 |
| 申请人地址 | 浙江省嘉兴市嘉善县惠民街道鑫达路6号 |
专利法律状态
2022-10-28
授权
状态信息
授权
摘要
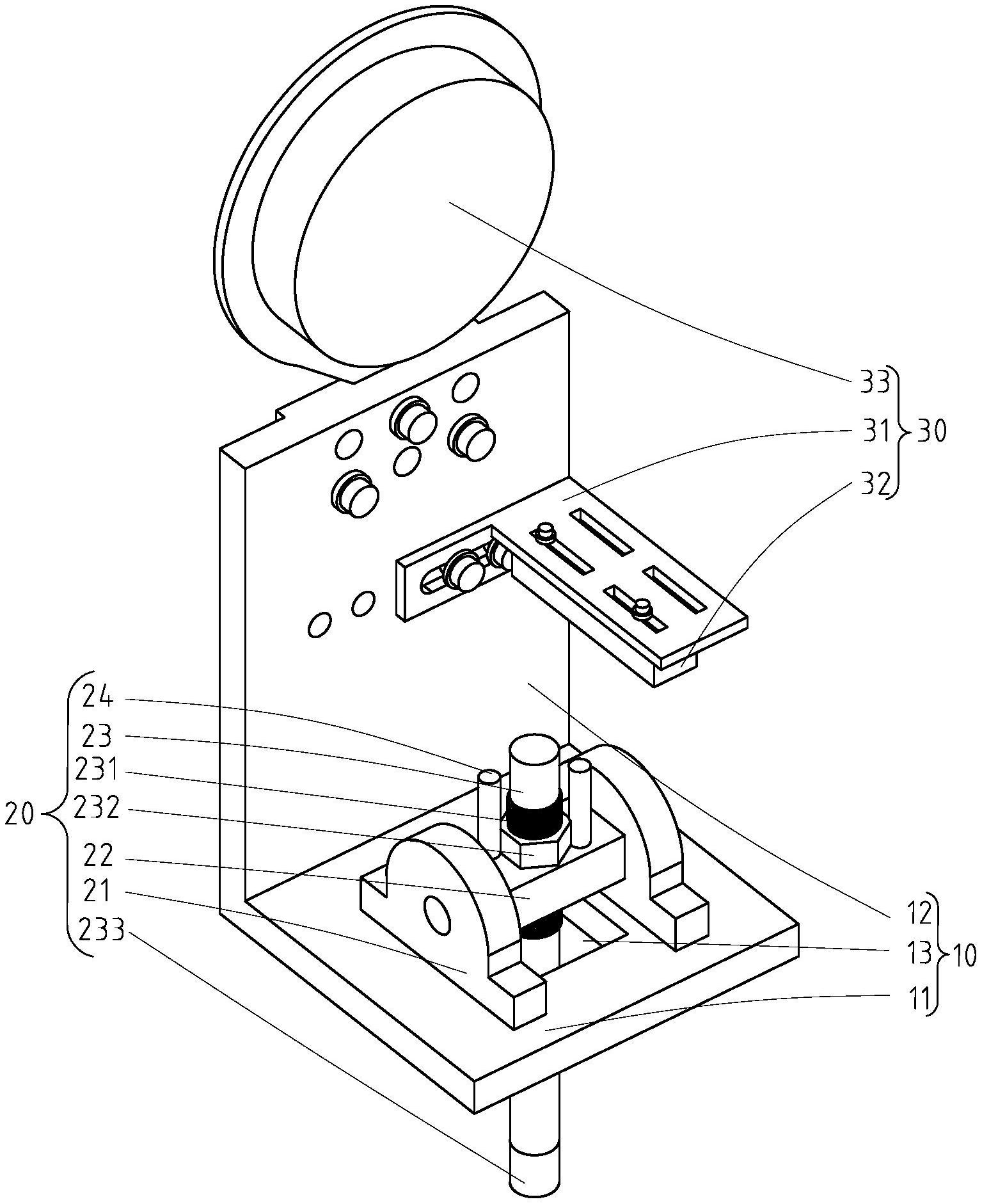
一种在线监测产品高度的工装,其包括一个安装架,一个放大组件,以及一个检测组件。所述放大组件包括一个摆轴,一个摆杆,以及偶数个平衡杆。所述摆杆的底部穿出所述摆轴的底部。所述检测组件包括一个光电感应器,以及一个设置在所述安装架顶部的声光报警器。所述光电感应器与所述平衡杆间隔设置。本在线监测产品高度的工装具有一个放大组件以及一个检测组件。所述放大组件将微小的高度变化放大,并由所述检测组件检测该变化,从而简化了整个装置的结构。所述光电感应器检测其与所述平衡杆之间的距离。当所述光电感应器检测到该距离发生变化后,所述声光报警器发出警报。


