授权公布号:CN218818100U
一种液驱氢气压缩机活塞的无油润滑密封组件
有效
申请
2022-12-15
申请公布
1970-01-01
授权
2023-04-07
预估到期
2032-12-15
| 申请号 | CN202223384970.5 |
| 申请日 | 2022-12-15 |
| 授权公布号 | CN218818100U |
| 授权公告日 | 2023-04-07 |
| 分类号 | F16J9/00;F16J9/24;F04B39/00 |
| 分类 | 工程元件或部件;为产生和保持机器或设备的有效运行的一般措施;一般绝热; |
| 申请人名称 | 中石化石油机械股份有限公司 |
| 申请人地址 | 湖北省武汉市东湖新技术开发区庙山小区华工园一路5号 |
专利法律状态
2023-04-07
授权
状态信息
授权
摘要
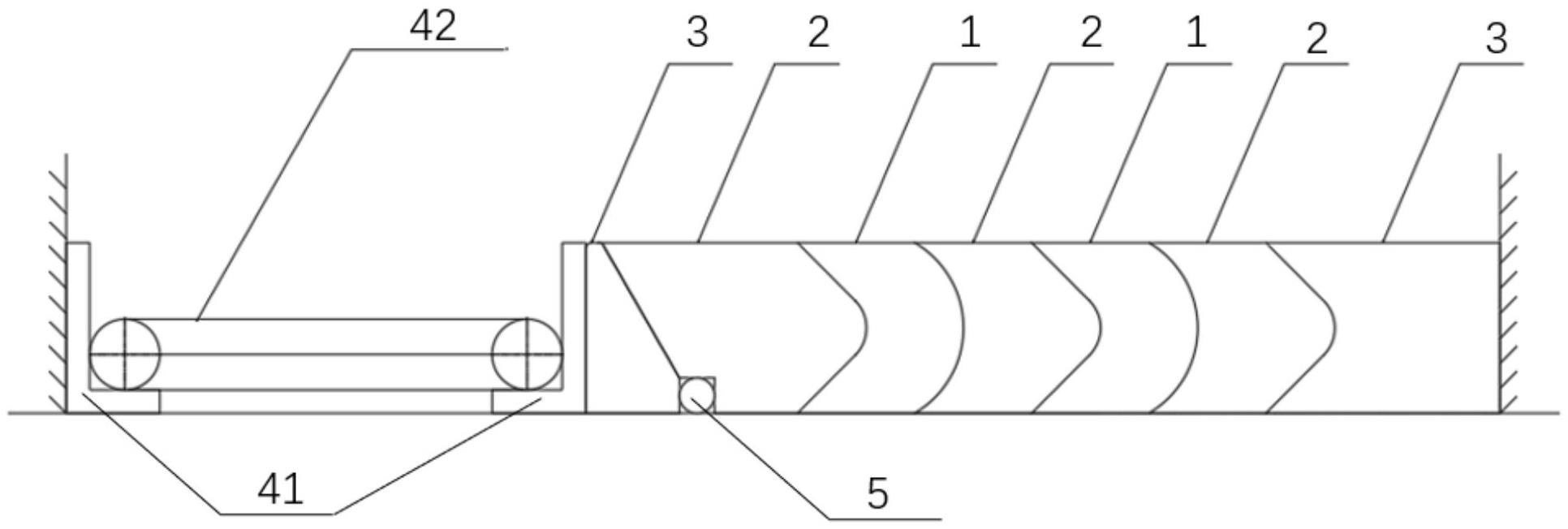
本实用新型公开了一种液驱氢气压缩机活塞的无油润滑密封组件,包括:密封组件,其为套设在活塞上的环形结构,包括多个支撑件,其沿活塞的长度方向间隔设置并与缸筒间隙配合;多个密封件,其分别填充在相邻的两个支撑件之间并与缸筒过盈配合;两个压环件,其设置在多个支撑件的两端,压环件与相邻的支撑件贴合设置并与缸筒间隙配合,支撑件与压环件、密封件的接触面沿气体压力方向向后凹陷;预紧装置,其位于密封组件的前端并向后压紧相邻的压环件。本实用新型通过设置多重密封结构分散单个密封件承压,配合前后导向和支撑结构使主密封定位稳定,在降低密封件磨损程度的同时保证密封组件随活塞运动时的同轴度,提高了压缩机密封的有效性和耐久性。


