授权公布号:CN207618336U
一种冷却液专用成品罐
有效
申请
2017-10-29
申请公布
1970-01-01
授权
2018-07-17
预估到期
2027-10-29
| 申请号 | CN201721405277.8 |
| 申请日 | 2017-10-29 |
| 授权公布号 | CN207618336U |
| 授权公告日 | 2018-07-17 |
| 分类号 | B65D90/00;B01F15/02;B01F7/18 |
| 分类 | 输送;包装;贮存;搬运薄的或细丝状材料; |
| 申请人名称 | 辽宁三特石油化工有限公司 |
| 申请人地址 | 辽宁省营口市大石桥市旗口镇 |
专利法律状态
2018-07-17
授权
状态信息
授权
摘要
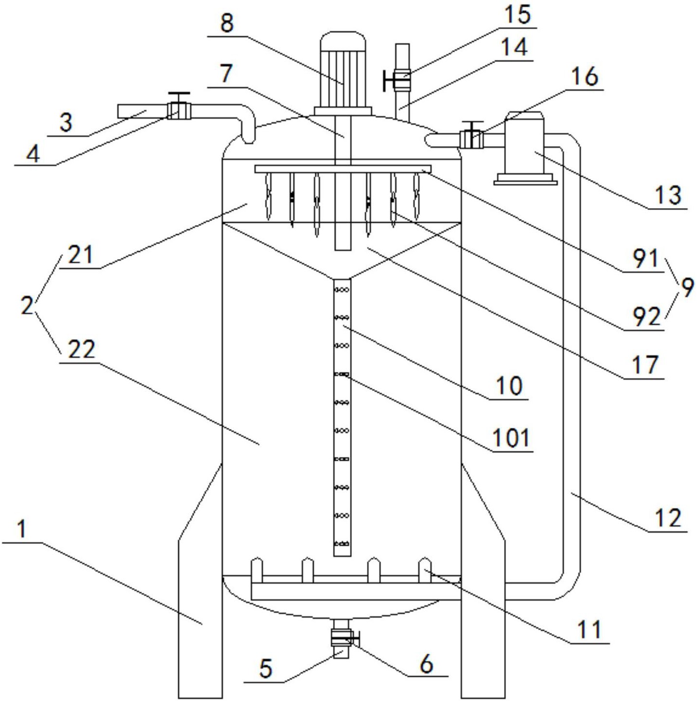
本实用新型涉及一种冷却液专用成品罐,包括机架和设置于所述机架上的储油罐,所述储油罐内部通过漏斗形密封隔板分隔成上部搅拌分罐和下部储油分罐,所述上部搅拌分罐的中间位置设置有一转动轴,所述转动轴上连接有相应的搅拌机构;所述漏斗形密封隔板的中心处设有相应的开口,所述开口处连通连接有一延伸至下部储油分罐底部的布液管,所述布液管从高往低并排均匀分布设有诸多相应的出液口;所述下部储油分罐底部并排设置有若干相应的循环输油分管,所述循环输油分管均连通连接到循环输油管,所述循环输油管通过相应的抽液泵连通连接到所述上部搅拌分罐的上方。本实用新型可进一步提高冷却液和添加剂的混合效果。


