授权公布号:CN212942958U
一种生产粘指剂用新型调和釜
有效
申请
2020-08-07
申请公布
1970-01-01
授权
2021-04-13
预估到期
2030-08-07
| 申请号 | CN202021622257.8 |
| 申请日 | 2020-08-07 |
| 授权公布号 | CN212942958U |
| 授权公告日 | 2021-04-13 |
| 分类号 | B01J19/28 |
| 分类 | 一般的物理或化学的方法或装置; |
| 申请人名称 | 辽宁三特石油化工有限公司 |
| 申请人地址 | 辽宁省营口市大石桥市旗口镇 |
专利法律状态
2021-04-13
授权
状态信息
授权
摘要
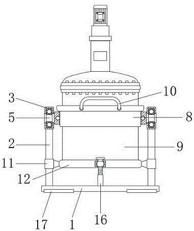
本实用新型公开了一种生产粘指剂用新型调和釜,包括底板,底板的顶侧壁对称固定连接有支杆,支杆的顶侧壁固定连接有第一套块,第一套块的内腔装配有轴承,轴承的中心处装配有中心块,两个中心块的内侧壁之间固定连接有第二套块,第二套块的内腔装配有套板,套板的内腔固定连接有釜体,第二套块的内腔对称装配有滚珠,滚珠的侧壁与套板相贴合。本实用新型涉及粘指剂技术领域,该一种生产粘指剂用新型调和釜,可以带动釜体进行转动,将釜体位置调整,方便取出加工后的粘指剂,同时使釜体进行分离,在拆卸的过程更方便,如果釜体出现损坏后,可以将两体进行分离,方便进行更换或维修,避免影响釜体在损坏后的工作效率。


