授权公布号:CN214378675U
一种固态锂电池的防震外壳
有效
申请
2020-12-25
申请公布
1970-01-01
授权
2021-10-08
预估到期
2030-12-25
| 申请号 | CN202023177670.0 |
| 申请日 | 2020-12-25 |
| 授权公布号 | CN214378675U |
| 授权公告日 | 2021-10-08 |
| 分类号 | H01M50/242;H01M50/202 |
| 分类 | 基本电气元件; |
| 申请人名称 | 山东衡远新能源科技有限公司 |
| 申请人地址 | 山东省济宁市邹城市三兴路2799号 |
专利法律状态
2021-10-08
授权
状态信息
授权
摘要
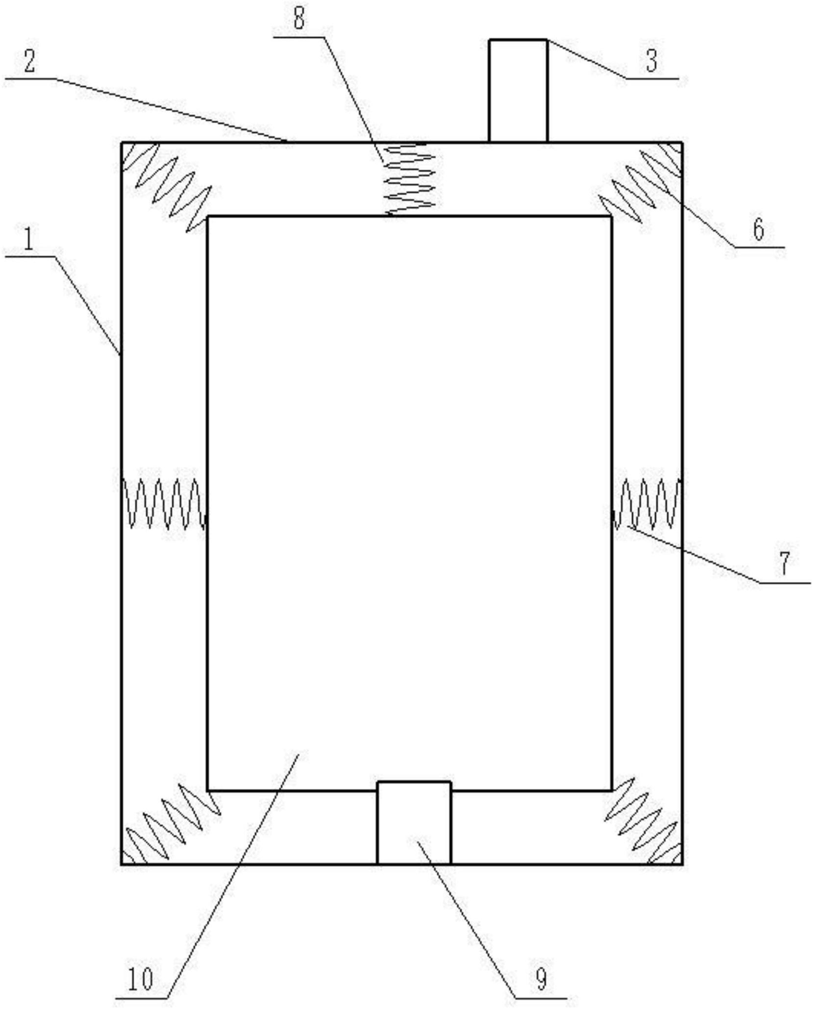
一种固态锂电池的防震外壳,包括:壳体、盖板、正极、负极、安全阀、第一减震弹簧、第二减震弹簧、第三减震弹簧和轨道,所述壳体为一端开口的长方体,所述壳体的开口端与盖板可拆卸连接,所述盖板的一端与正极、负极和安全阀固定连接,所述壳体的底面与轨道固定连接,所述轨道与壳体的侧面相互平行,所述轨道与固态锂电池的底面可滑动连接,所述第一减震弹簧有八个,所述第二减震弹簧有四个,所述第三减震弹簧的一端与盖板朝向壳体的一端固定连接,所述第三减震弹簧远离盖板的一端与固态锂电池可拆卸连接。本公开能够防止固态锂电池撞击在壳体上,保护固态锂电池的完好,延长固态锂电池的使用寿命。


