授权公布号:CN112768842B
一种锂电池总成的拆装结构
有效
申请
2021-01-11
申请公布
2021-05-07
授权
2022-09-20
预估到期
2041-01-11
| 申请号 | CN202110028020.X |
| 申请日 | 2021-01-11 |
| 申请公布号 | CN112768842A |
| 申请公布日 | 2021-05-07 |
| 授权公布号 | CN112768842B |
| 授权公告日 | 2022-09-20 |
| 分类号 | H01M50/503;H01M50/517;H01M50/244;H01M50/213;H01M10/44;H01M10/052 |
| 分类 | 基本电气元件; |
| 申请人名称 | 江苏科耐尔新能源科技有限公司 |
| 申请人地址 | 江苏省徐州市丰县大沙河镇驻地 |
专利法律状态
2022-09-20
授权
状态信息
授权
2021-05-07
公布
状态信息
公布
摘要
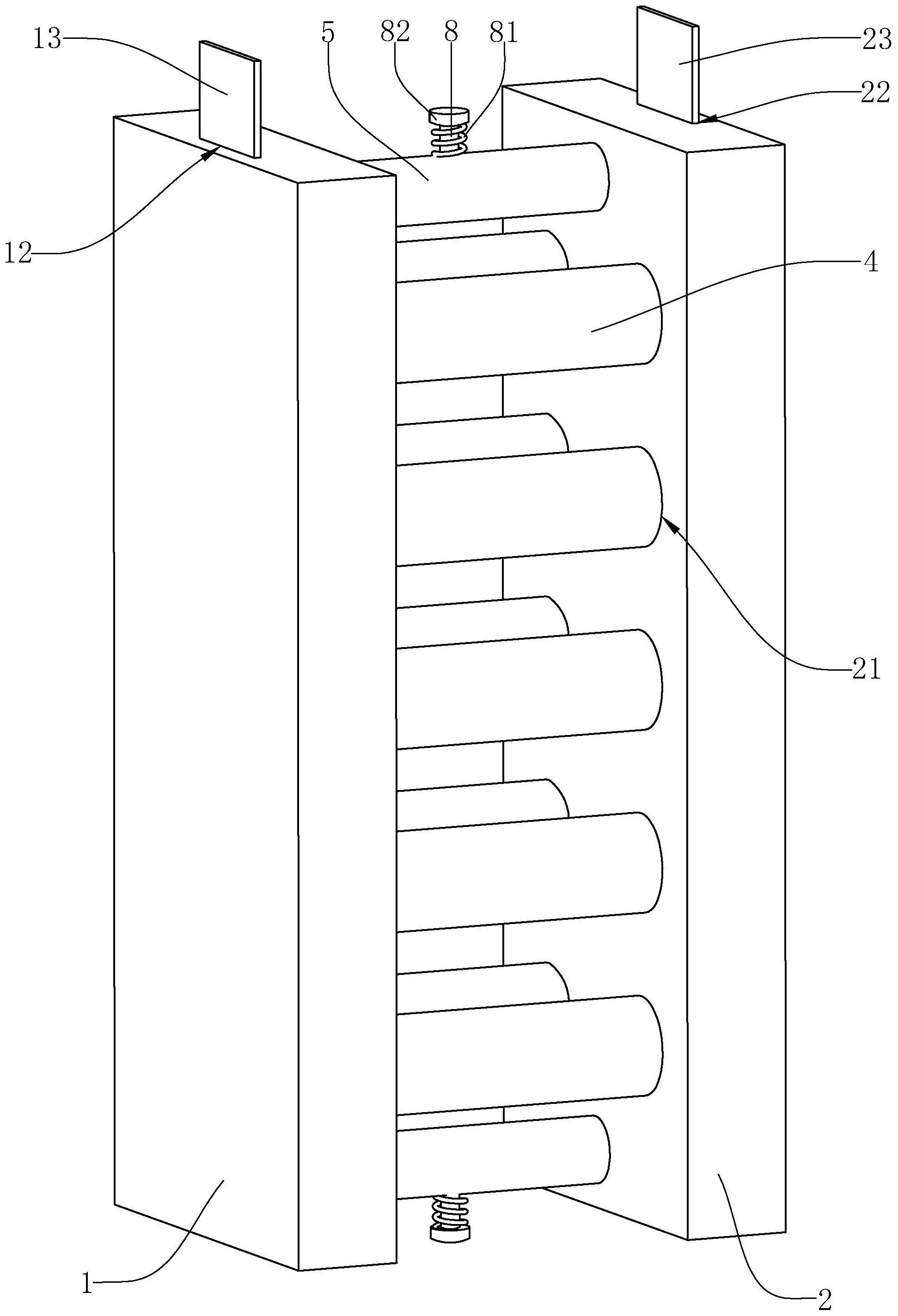
本发明涉及一种锂电池总成的拆装结构,包括沿水平方向依次设置的正极安装板1、连接柱5以及负极安装板2,其中连接柱5在竖直方向设置有一对,且连接柱5的两端分别与正极安装板1和负极安装板2可拆卸连接,同时在正极安装板1与负极安装板2相对的一侧分别阵列开设有若干的正极插孔和负极插孔21,每组正极插孔与负极插孔21之间均可以用于固定一电池单体4,并且在正极安装板1中沿竖直方向开设有正极导电槽12,正极导电槽12内安装有正极导电条13,在负极安装板2中沿竖直方向开设有负极导电槽22,负极导电槽22内安装有负极导电条23,电池单体4的两极分别与正极导电条13和负极导电条23接触,从而形成完整的锂电池总成。


