授权公布号:CN211489788U
一种方便清理的双金属孔锯
有效
申请
2019-11-22
申请公布
1970-01-01
授权
2020-09-15
预估到期
2029-11-22
| 申请号 | CN201922048967.8 |
| 申请日 | 2019-11-22 |
| 授权公布号 | CN211489788U |
| 授权公告日 | 2020-09-15 |
| 分类号 | B23B51/04 |
| 分类 | 机床;不包含在其他类目中的金属加工; |
| 申请人名称 | 杭州益丰五金工具有限公司 |
| 申请人地址 | 浙江省杭州市萧山区闻堰镇五金路31号 |
专利法律状态
2020-09-15
授权
状态信息
授权
摘要
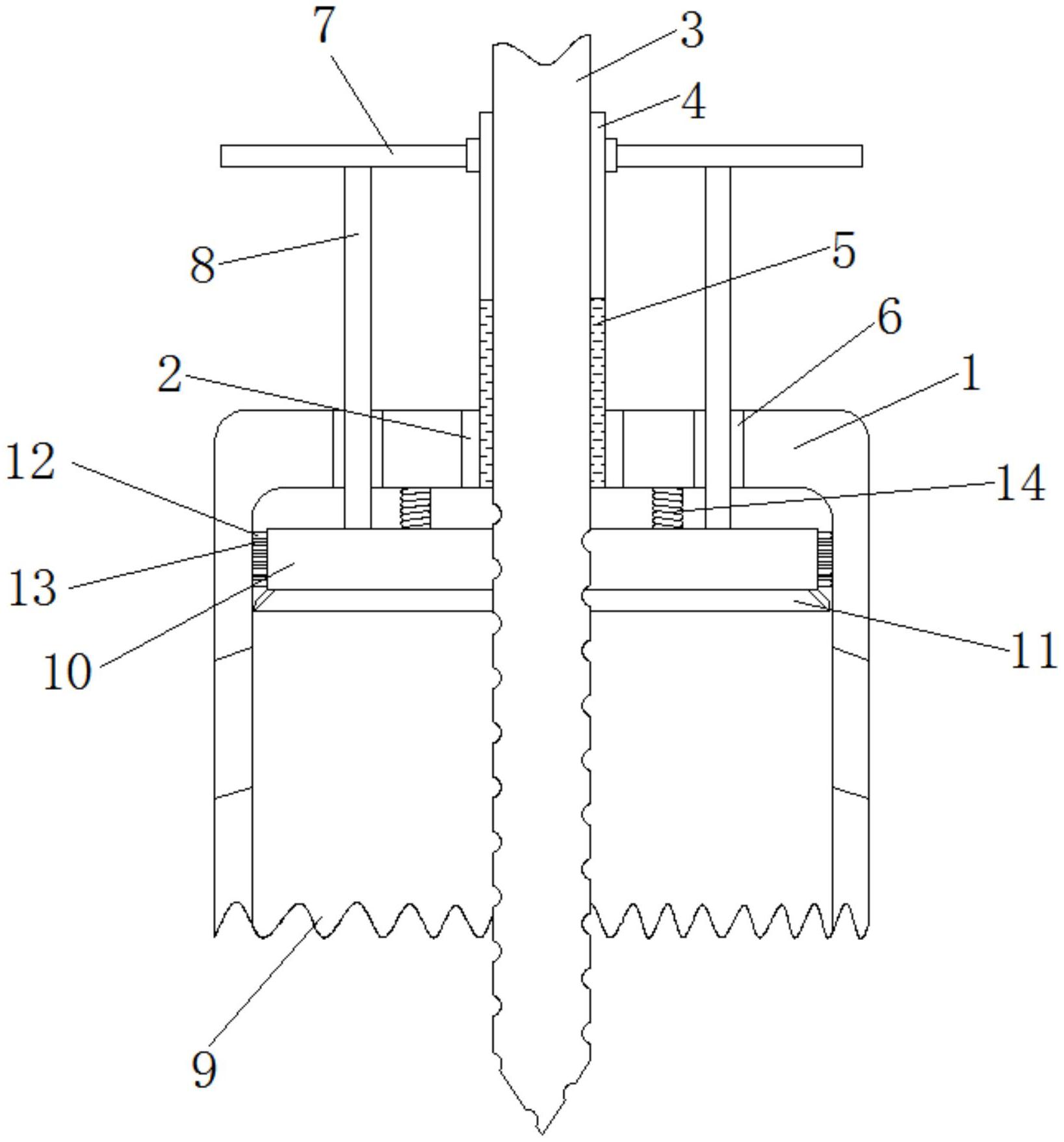
本实用新型公开了一种方便清理的双金属孔锯,包括锯片、螺旋钻杆、套设于螺旋钻杆的限位套、连接于限位套的连接片、与连接片垂直连接的限位插杆,锯片底边设有锯齿,所述限位套的外壁套设有连接片,所述连接片的底端固定安装有限位插杆,锯片的内部设置有挤出机构,所述限位插杆与挤出板固定连接且垂直方向推动挤出机构,挤出机构包括挤出板、固定安装于挤出板的下表面的刮片刀圈、设置于挤出板外壁处的第一刷毛和第二刷毛,在挤出废料圆片的同时,有效实现了对锯片内部料屑的快速清理。


