授权公布号:CN211101065U
一种开孔器冲压模具
有效
申请
2019-11-23
申请公布
1970-01-01
授权
2020-07-28
预估到期
2029-11-23
| 申请号 | CN201922039697.4 |
| 申请日 | 2019-11-23 |
| 授权公布号 | CN211101065U |
| 授权公告日 | 2020-07-28 |
| 分类号 | B21D28/26;B08B1/04 |
| 分类 | 基本上无切削的金属机械加工;金属冲压; |
| 申请人名称 | 杭州益丰五金工具有限公司 |
| 申请人地址 | 浙江省杭州市萧山区闻堰镇五金路31号 |
专利法律状态
2020-07-28
授权
状态信息
授权
摘要
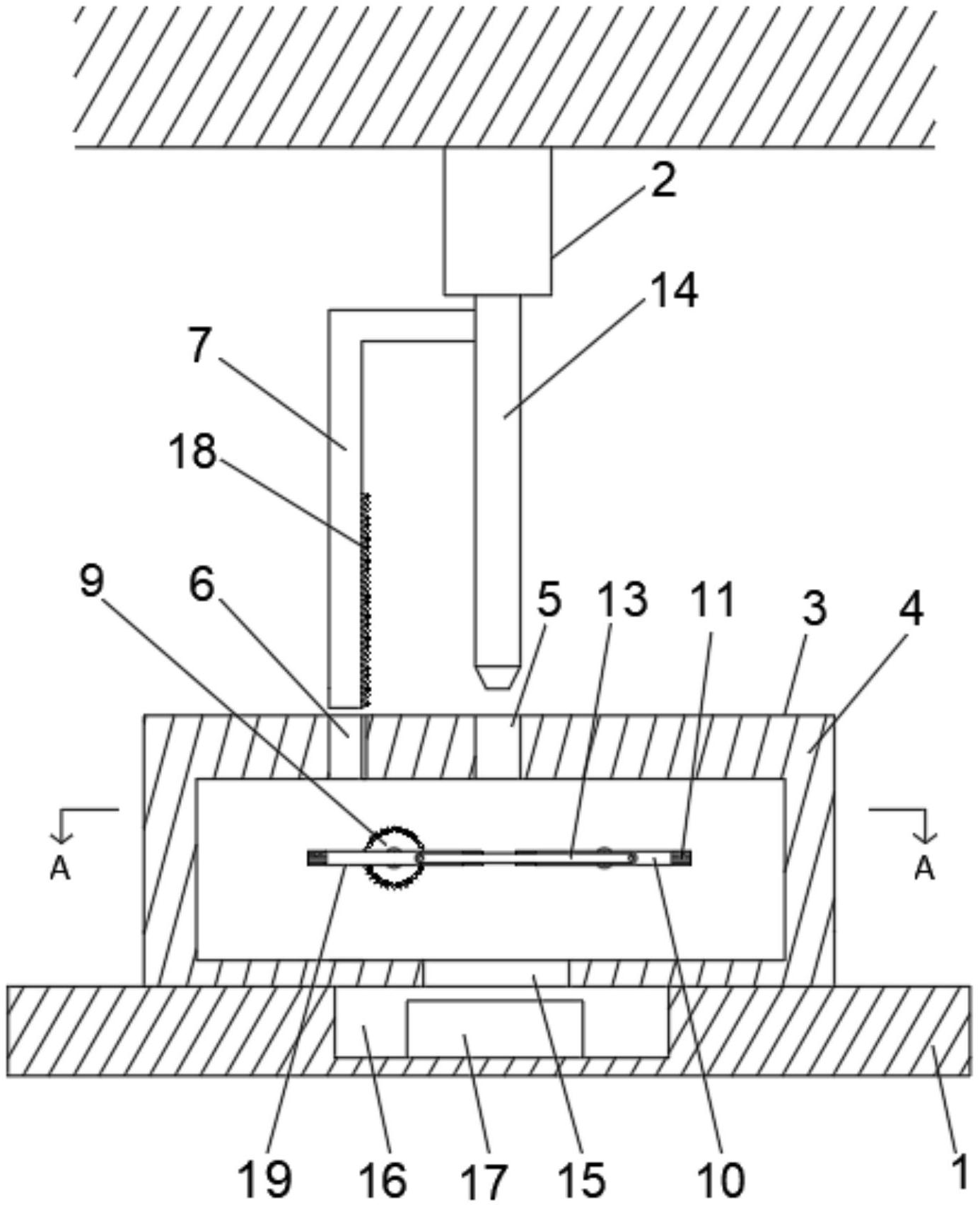
本实用新型公开了一种开孔器冲压模具,涉及冲压模具技术领域,包括底座和上模组机构,所述上模组机构包括上冲压模具,所述底座的上表面固定连接有下模组机构,所述下模组机构包括下冲压模具,所述下冲压模具的下表面与底座固定连接,所述下冲压模具的上侧贯穿有冲压口,所述下冲压模具的上表面贯穿有滑槽,所述上冲压模具的左侧固定连接有插杆。本实用新型,通过上述结构之间的相互配合,达到了在板件冲压完成后对上冲压模具进行清扫、避免了金属屑在上冲压模具上大量堆积影响加工效果和影响工人健康的效果,解决了传统冲压模具在冲压过程中会大量堆积金属屑,影响了加工精度且不利于工人健康的问题。


