授权公布号:CN217223738U
一种深载型高速硬质合金孔锯
有效
申请
2022-03-02
申请公布
1970-01-01
授权
2022-08-19
预估到期
2032-03-02
| 申请号 | CN202220445416.4 |
| 申请日 | 2022-03-02 |
| 授权公布号 | CN217223738U |
| 授权公告日 | 2022-08-19 |
| 分类号 | B23B51/05 |
| 分类 | 机床;不包含在其他类目中的金属加工; |
| 申请人名称 | 杭州益丰五金工具有限公司 |
| 申请人地址 | 浙江省杭州市萧山区闻堰街道大湾路78号 |
专利法律状态
2022-08-19
授权
状态信息
授权
摘要
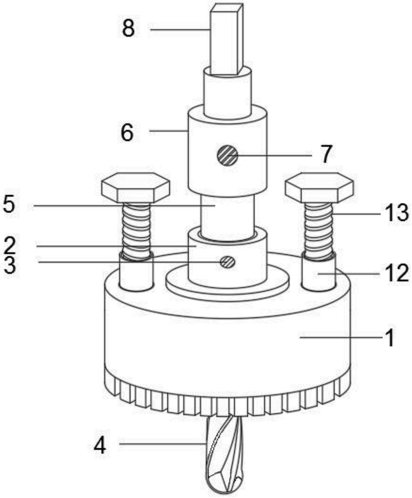
本实用新型公开了一种深载型高速硬质合金孔锯,包括孔锯本体,所述孔锯本体顶部中心处固定连接有固定套,所述固定套外围开设有第一螺纹孔,所述固定套内部套设连接有辅助钻头,所述固定套顶部中心处固定连接有安装杆,所述安装杆顶部外围套设连接有锁紧套,所述锁紧套外围开设有第二螺纹孔,所述锁紧套顶部中心处固定连接有卡接杆,本实用新型结构新颖,设计合理,便于对辅助钻头进行单独装卸,同时可根据使用需求对孔锯本体的伸出长度进行控制,适用于多种环境下的钻孔使用,实用性较强,通过设置调节螺杆可带动推料盘在孔锯本体内部移动,便于将孔锯本体内部堵塞的废料推出,不需工作人员手动清除,降低了工作人员劳动强度。


