授权公布号:CN211164354U
一种木工支罗钻
有效
申请
2019-11-23
申请公布
1970-01-01
授权
2020-08-04
预估到期
2029-11-23
| 申请号 | CN201922040158.2 |
| 申请日 | 2019-11-23 |
| 授权公布号 | CN211164354U |
| 授权公告日 | 2020-08-04 |
| 分类号 | B27C3/00 |
| 分类 | 木材或类似材料的加工或保存;一般钉钉机或钉U形钉机; |
| 申请人名称 | 杭州益丰五金工具有限公司 |
| 申请人地址 | 浙江省杭州市萧山区闻堰镇五金路31号 |
专利法律状态
2020-08-04
授权
状态信息
授权
摘要
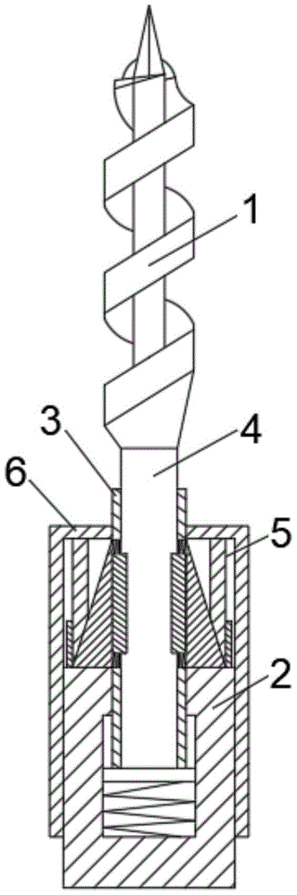
本实用新型公开了一种木工支罗钻,涉及钻头安装技术领域,包括钻头、主杆和第一套筒,所述钻头上靠近主杆的一端固定连接有钻杆,所述钻杆套接在第一套筒内,所述第一套筒上固定安装有钻头更换装置,所述钻头更换装置包括螺纹套和滑块,所述螺纹套的腔内顶壁固定连接有第二套筒,所述主杆内开设有滑槽,所述第一套筒的底端贯穿主杆的上表面并伸入滑槽内,所述主杆的外表面开设有螺纹,所述螺纹套螺纹连接在主杆的螺纹臂上,所述第一套筒的外表面开设有限位槽。本实用新型通过上述等机构的配合,具备了钻头的便捷更换和安装效果,且钻头的固定效果好,解决了对比文案中的钻头不便于拆卸更换的问题。


