授权公布号:CN211100939U
一种加工孔锯的半自动卷圆机
有效
申请
2019-11-21
申请公布
1970-01-01
授权
2020-07-28
预估到期
2029-11-21
| 申请号 | CN201922032006.8 |
| 申请日 | 2019-11-21 |
| 授权公布号 | CN211100939U |
| 授权公告日 | 2020-07-28 |
| 分类号 | B21D5/14;B21D43/02 |
| 分类 | 基本上无切削的金属机械加工;金属冲压; |
| 申请人名称 | 杭州益丰五金工具有限公司 |
| 申请人地址 | 浙江省杭州市萧山区闻堰镇五金路31号 |
专利法律状态
2020-07-28
授权
状态信息
授权
摘要
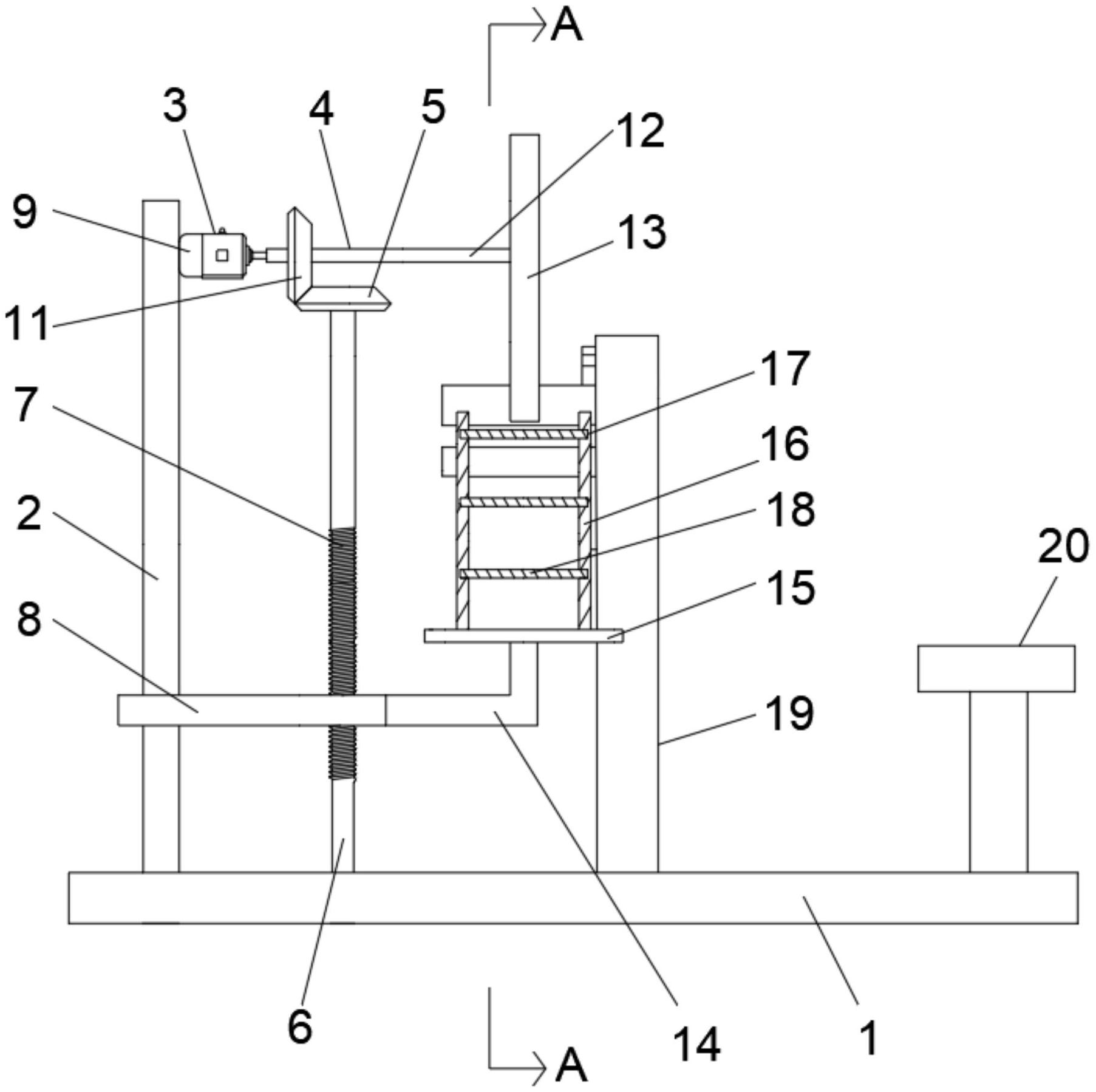
本实用新型公开了一种加工孔锯的半自动卷圆机,涉及孔锯加工技术领域,包括底座、卷圆机构和控制机构,所述卷圆机构的底面与底座固定连接,所述控制机构的底面与底座固定连接,所述底座的上表面固定连接有支撑柱,所述支撑柱的外侧面设置有驱动机构和送料机构,所述送料机构包括第二锥形齿轮,所述第二锥形齿轮的下表面固定连接有转轴,所述转轴的下表面通过轴承与底座转动连接。本实用新型,通过上述结构之间的相互配合,达到了对加工板件进行平稳且逐一送料、避免了送料过程中加工板件发生偏移的优点,解决了传统卷圆机在进料过程中板件无法平稳输送、有可能导致角度偏移而影响加工精度的问题。


