授权公布号:CN215919938U
一种实验室用金属打磨装置
有效
申请
2021-07-26
申请公布
1970-01-01
授权
2022-03-01
预估到期
2031-07-26
| 申请号 | CN202121704686.4 |
| 申请日 | 2021-07-26 |
| 授权公布号 | CN215919938U |
| 授权公告日 | 2022-03-01 |
| 分类号 | B24B7/07;B24B41/06;B24B47/16 |
| 分类 | 磨削;抛光; |
| 申请人名称 | 安徽中天石化股份有限公司 |
| 申请人地址 | 安徽省安庆市宿松县经济开发区兴业路27号 |
专利法律状态
2022-03-01
授权
状态信息
授权
摘要
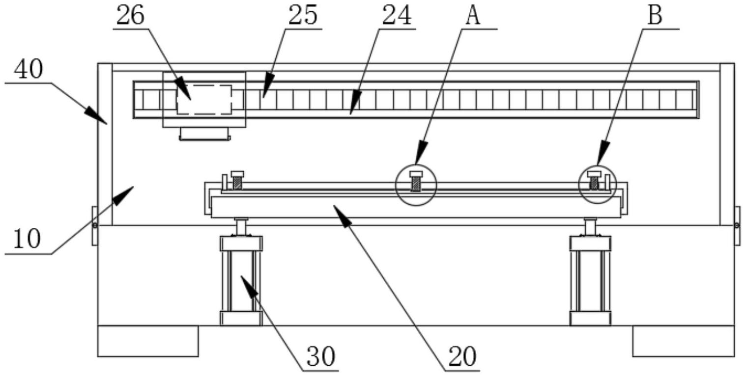
本实用新型公开了一种实验室用金属打磨装置,包括机架以及放置架,放置架位于机架的内部活动设置,且放置架的顶部活动设置有固定机构,机架内部且位于放置架的上方设置有打磨机构,打磨机构在机架内部做左右往复的匀速运动,涉及金属加工机械技术领域。通过在机架的内部设置打磨机构,利用两个直线电机带动打磨架在机架的内部进行左右匀速运动,将金属片固定在放置架上,通过两个伺服电缸将放置架整体抬升至打磨机构的下方,使金属片的表面与打磨机构中的打磨砂纸接触,接着打磨砂纸在金属片的表面进行左右匀速运动,完成对金属片表面的打磨,相较于传统的人工打磨,采用打磨机构能够有效提高金属片的打磨效率,降低工作人员的劳动强度。


