授权公布号:CN207649584U
轴承外圈外径检测机
有效
申请
2018-01-12
申请公布
1970-01-01
授权
2018-07-24
预估到期
2028-01-12
| 申请号 | CN201820051284.0 |
| 申请日 | 2018-01-12 |
| 授权公布号 | CN207649584U |
| 授权公告日 | 2018-07-24 |
| 分类号 | G01B21/10 |
| 分类 | 测量;测试; |
| 申请人名称 | 浙江日发精密机械股份有限公司 |
| 申请人地址 | 浙江省绍兴市新昌县七星街道日发数码科技园 |
专利法律状态
2018-07-24
授权
状态信息
授权
摘要
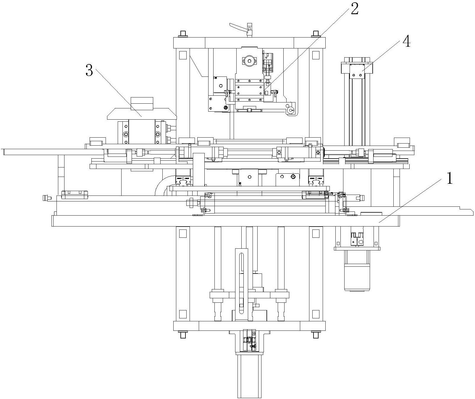
本实用新型公开了轴承外圈外径检测机,包括支撑座,所述支撑座的顶部通过支架固定连接有外圈检测机构,所述支撑座顶部的左侧设置有翻转机构,所述支撑座顶部的右侧设置有读码器,所述读码器底部的左侧且位于支撑座的顶部设置有台面,所述台面的内腔设置有导杆。本实用新型通过外圈检测机构、翻转机构、读码器、台面、导杆、联轴器、减速电机、步进电机、拖链、直线导轨、横移气缸、横移机构、纵移气缸、抓料气缸和滚珠丝杆的配合使用,使得该轴承外圈外径检测机具有检测精度高的优点,保证了检测结果的正确性,提高了工作效率,减少了工作量,同时也提高了轴承外圈外径检测机的实用性,便于使用者进行使用。


