授权公布号:CN210281343U
清洗机柱塞泵泵头加工设备
有效
申请
2019-05-09
申请公布
1970-01-01
授权
2020-04-10
预估到期
2029-05-09
| 申请号 | CN201920658054.5 |
| 申请日 | 2019-05-09 |
| 授权公布号 | CN210281343U |
| 授权公告日 | 2020-04-10 |
| 分类号 | B23P23/02;B23Q3/06 |
| 分类 | 机床;不包含在其他类目中的金属加工; |
| 申请人名称 | 浙江科马动力机械有限公司 |
| 申请人地址 | 浙江省台州市路桥区清镇塘上村 |
专利法律状态
2021-10-22
专利权质押合同登记的生效、变更及注销
状态信息
专利权质押合同登记的生效;IPC(主分类):B23P23/02;登记号:Y2021980010256;登记生效日:20210929;出质人:浙江科马动力机械有限公司;质权人:浙江泰隆商业银行股份有限公司台州分行;实用新型名称:清洗机柱塞泵泵头加工设备;申请日:20190509;授权公告日:20200410
2020-04-10
授权
状态信息
授权
摘要
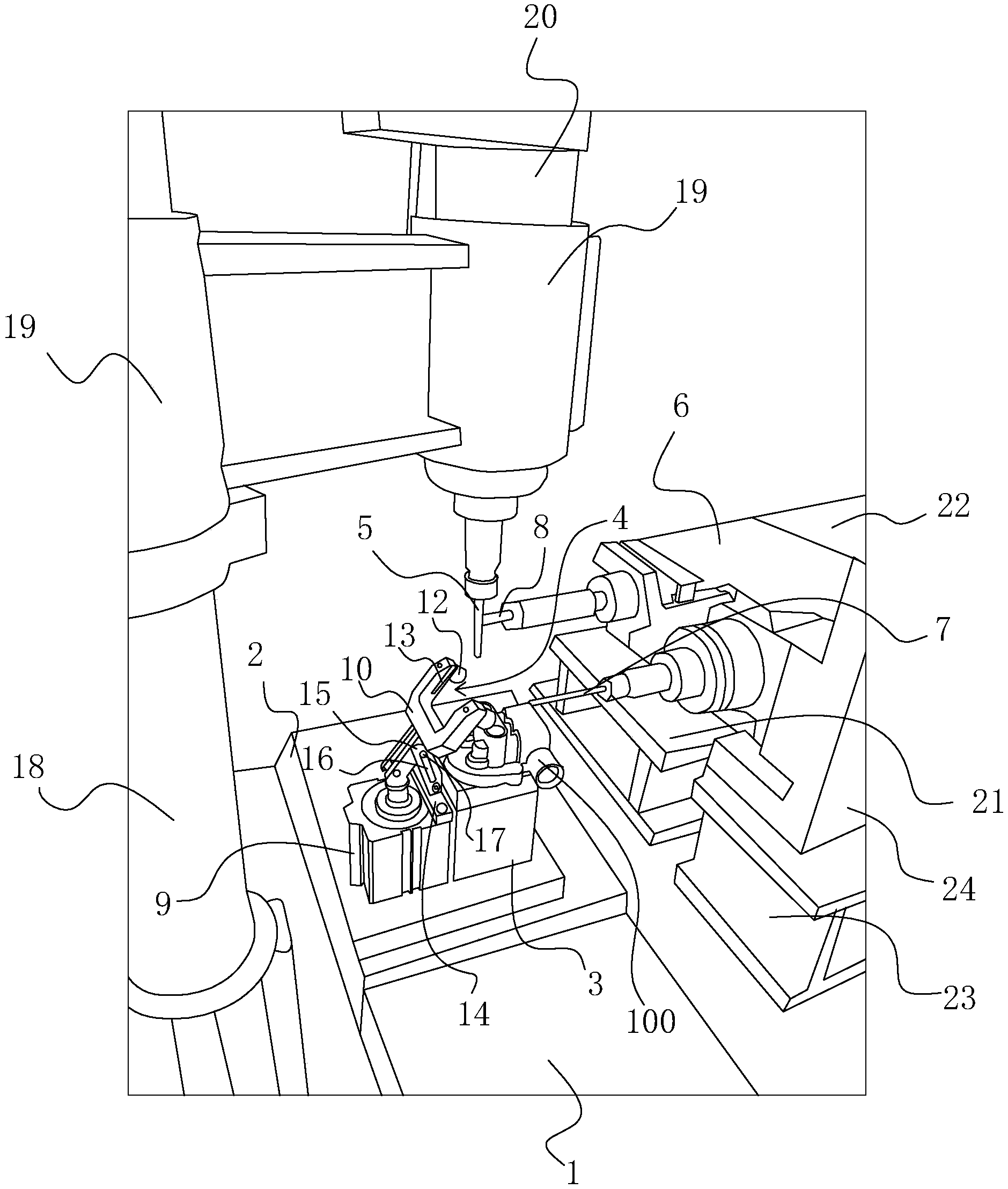
本实用新型属于自动化设备技术领域,尤其涉及一种清洗机柱塞泵泵头加工设备。本实用新型,包括基座台,所述的基座台上设有固定底板,所述的固定底板上装设有用于放置待加工的柱塞泵泵头的加工座,所述的固定底板上还设有用于固定待加工的柱塞泵泵头的泵头夹钳,所述的加工座上方设有可沿竖直方向往复直线运动的上孔钻头,所述的基座台靠近加工座一侧的端部设有可沿水平方向往复直线运动的位移块。本实用新型通过设置缓冲压块,可减少对柱塞泵泵头的压痕,提高待加工的柱塞泵泵头的表面质量,同时通过设置钻孔道可避免在钻孔攻丝时发生干涉,减少钻头的报废率,提高加工精度,降低产品报废率。


