授权公布号:CN206320000U
小型电动清洗机的油水混合阻断机构
有效
申请
2016-12-14
申请公布
1970-01-01
授权
2017-07-11
预估到期
2026-12-14
| 申请号 | CN201621372095.0 |
| 申请日 | 2016-12-14 |
| 授权公布号 | CN206320000U |
| 授权公告日 | 2017-07-11 |
| 分类号 | F04B1/16;F04B17/03;F04B53/00 |
| 分类 | 液体变容式机械;液体泵或弹性流体泵; |
| 申请人名称 | 浙江科马动力机械有限公司 |
| 申请人地址 | 浙江省台州市路桥区金清镇塘上村 |
专利法律状态
2017-12-01
专利权质押合同登记的生效、变更及注销
状态信息
专利权质押合同登记的生效;IPC(主分类):F04B1/16;登记号:2017330000163;登记生效日:20171108;出质人:浙江科马动力机械有限公司;质权人:浙江台州路桥农村商业银行股份有限公司;实用新型名称:小型电动清洗机的油水混合阻断机构;申请日:20161214;授权公告日:20170711
2017-07-11
授权
状态信息
授权
摘要
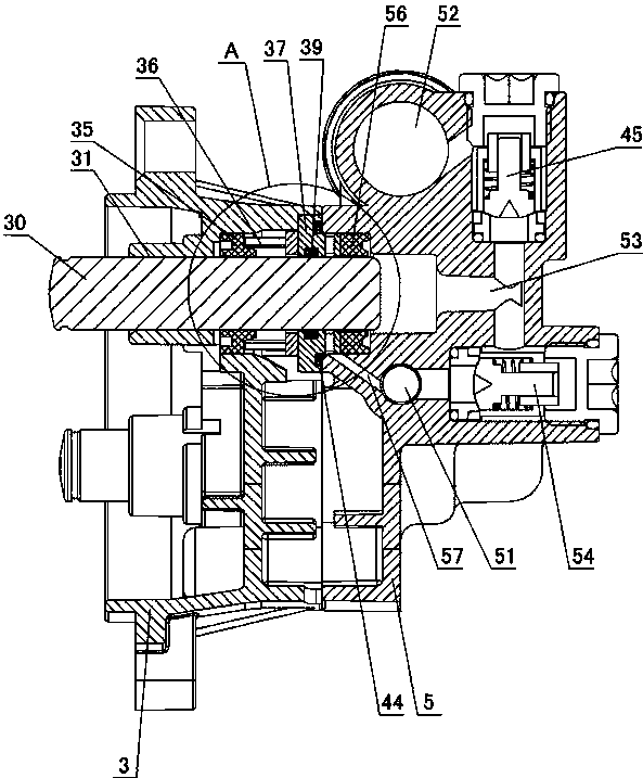
小型电动清洗机的油水混合阻断机构,包括电动机前端设连接座前端设泵体前端设泵头,电动机输出轴连接斜盘,斜盘上设平面轴承,泵体中开柱塞孔中设柱塞,柱塞一头与斜盘上平面轴承接触,泵头中制进水口、出水口和容腔,进水口连进水单向阀,出水口连出水单向阀,其特征在于所述泵体位于柱塞孔另一侧制油封安装槽、隔套槽和中间套槽,油封安装槽中设油封,隔套槽中设隔套,中间套槽中设中间套,中间套内壁制副水封槽,副水封槽中设副水封,中间套一侧制内、外环形凹槽,内、外环形凹槽之间制有4—8个小孔,泵头中制水封槽中设水封,水封槽位于水封一侧制曲折流道,曲折流道与进水口相通,油封、中间套、副水封和水封依次与柱塞外壁相接触。


