授权公布号:CN112030385B
一种便于缝纫机针安装的固定装置
有效
申请
2020-09-25
申请公布
2020-12-04
授权
2021-12-10
预估到期
2040-09-25
| 申请号 | CN202011021839.5 |
| 申请日 | 2020-09-25 |
| 申请公布号 | CN112030385A |
| 申请公布日 | 2020-12-04 |
| 授权公布号 | CN112030385B |
| 授权公告日 | 2021-12-10 |
| 分类号 | D05B55/02 |
| 分类 | 缝纫;绣花;簇绒; |
| 申请人名称 | 浙江科马动力机械有限公司 |
| 申请人地址 | 浙江省台州市路桥区金清镇塘上村 |
专利法律状态
2021-12-10
授权
状态信息
授权
2021-12-07
专利申请权、专利权的转移
状态信息
专利申请权的转移;IPC(主分类):D05B 55/02;专利申请号:2020110218395;登记生效日:20211125;变更事项:申请人;变更前权利人:李灿培;变更后权利人:浙江科马动力机械有限公司;变更事项:地址;变更前权利人:543100 广西壮族自治区梧州市苍梧县石桥镇学田村木路组17号;变更后权利人:318050 浙江省台州市路桥区金清镇塘上村
2020-12-22
实质审查的生效
状态信息
实质审查的生效;IPC(主分类):D05B 55/02;专利申请号:2020110218395;申请日:20200925
2020-12-04
公布
状态信息
公布
摘要
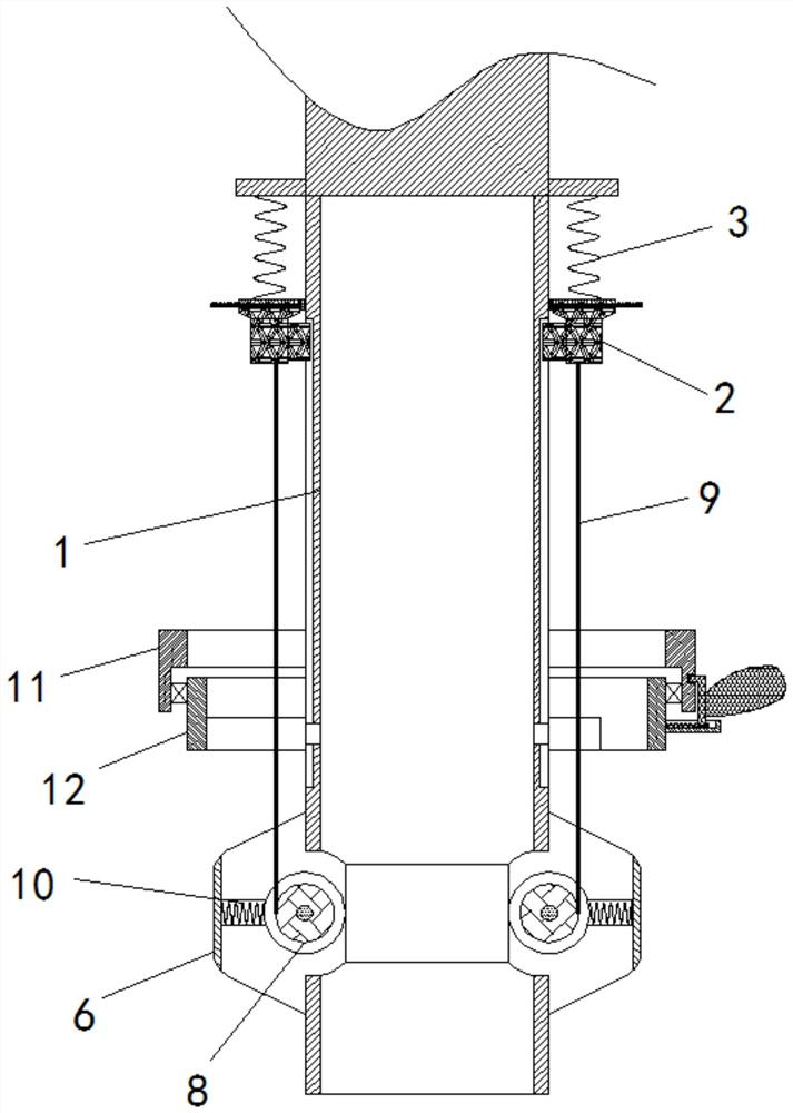
本发明涉及缝纫机针技术领域,且公开了一种便于缝纫机针安装的固定装置,包括针管,所述针管的左壁和右壁上均滑动连接有滑块,所述滑块和针管之间固定连接有第一弹簧,所述滑块的上部滑动插接有顶杆,所述顶杆的右部活动套接有第二弹簧,所述针管的下部固定套接有围板,所述围板的内腔前壁和后壁上均滑动连接有对称的连接块。该便于缝纫机针安装的固定装置,通过设置有一定弹性的对称转辊,使得机针插入针管中,能够带动转辊转动,配合拉绳将滑块拉下,再配合转动紧固环,使得顶杆能够被挤压固定机针,从而避免了用户拿捏不稳导致机针掉落的情况发生、可便捷的对机针进行固定、方便用户了解机针是否安装到位。


