授权公布号:CN215336116U
一种反射式前雾灯用杂光处理结构
有效
申请
2021-07-02
申请公布
1970-01-01
授权
2021-12-28
预估到期
2031-07-02
| 申请号 | CN202121495921.1 |
| 申请日 | 2021-07-02 |
| 授权公布号 | CN215336116U |
| 授权公告日 | 2021-12-28 |
| 分类号 | F21S41/43;F21W102/30N;F21W107/10N;F21Y115/10N |
| 分类 | 照明; |
| 申请人名称 | 江苏文光车辆附件有限公司 |
| 申请人地址 | 江苏省镇江市丹阳市访仙镇窦庄永兴路2号 |
专利法律状态
2021-12-28
授权
状态信息
授权
摘要
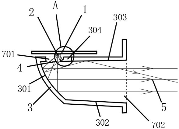
本实用新型属于汽车前雾灯技术领域,尤其涉及一种反射式前雾灯用杂光处理结构,包括反射镜以及固定在反射镜上的线路板,所述反射镜上开设有入射孔和出射孔,所述线路板上设置有光源用以发出光线由所述入射孔进入反射镜,所述反射镜包括有上方侧壁和下方侧壁,且反射镜上设置有弧形的配光反射面用以将光源发出的光线反射向所述出射孔;本实用新型利用遮光结构一面弧形的优化设计,在光源照射出来时,直接将其不参与配光设计、照射到反射镜侧壁后会形成杂光的光线,给予拦截、反射和吸收,大大减少了不可控的杂光,且不影响配光设计的光利用率,本实用新型结构简单,设计巧妙,可附着于前雾灯上使用,实用性强。


