授权公布号:CN112475171B
一种自动化锻造成型装置
有效
申请
2020-11-09
申请公布
2021-03-12
授权
2022-07-29
预估到期
2040-11-09
| 申请号 | CN202011237816.8 |
| 申请日 | 2020-11-09 |
| 申请公布号 | CN112475171A |
| 申请公布日 | 2021-03-12 |
| 授权公布号 | CN112475171B |
| 授权公告日 | 2022-07-29 |
| 分类号 | B21J7/06;B21J7/42;B21J9/06;B21J9/18;B21J13/10;B21J13/12 |
| 分类 | 基本上无切削的金属机械加工;金属冲压; |
| 申请人名称 | 格尔德贝克(山西)法兰管件有限公司 |
| 申请人地址 | 山西省忻州市定襄县李家庄 |
专利法律状态
2022-07-29
授权
状态信息
授权
2022-06-24
专利申请权、专利权的转移
状态信息
专利申请权的转移;IPC(主分类):B21J7/06;专利申请号:2020112378168;登记生效日:20220610;变更事项:申请人;变更前权利人:谢娟;变更后权利人:格尔德贝克(山西)法兰管件有限公司;变更事项:地址;变更前权利人:450001 河南省郑州市高新区长椿路11号;变更后权利人:034000 山西省忻州市定襄县李家庄
2021-03-30
实质审查的生效
状态信息
实质审查的生效;IPC(主分类):B21J7/06;专利申请号:2020112378168;申请日:20201109
2021-03-12
公布
状态信息
公布
摘要
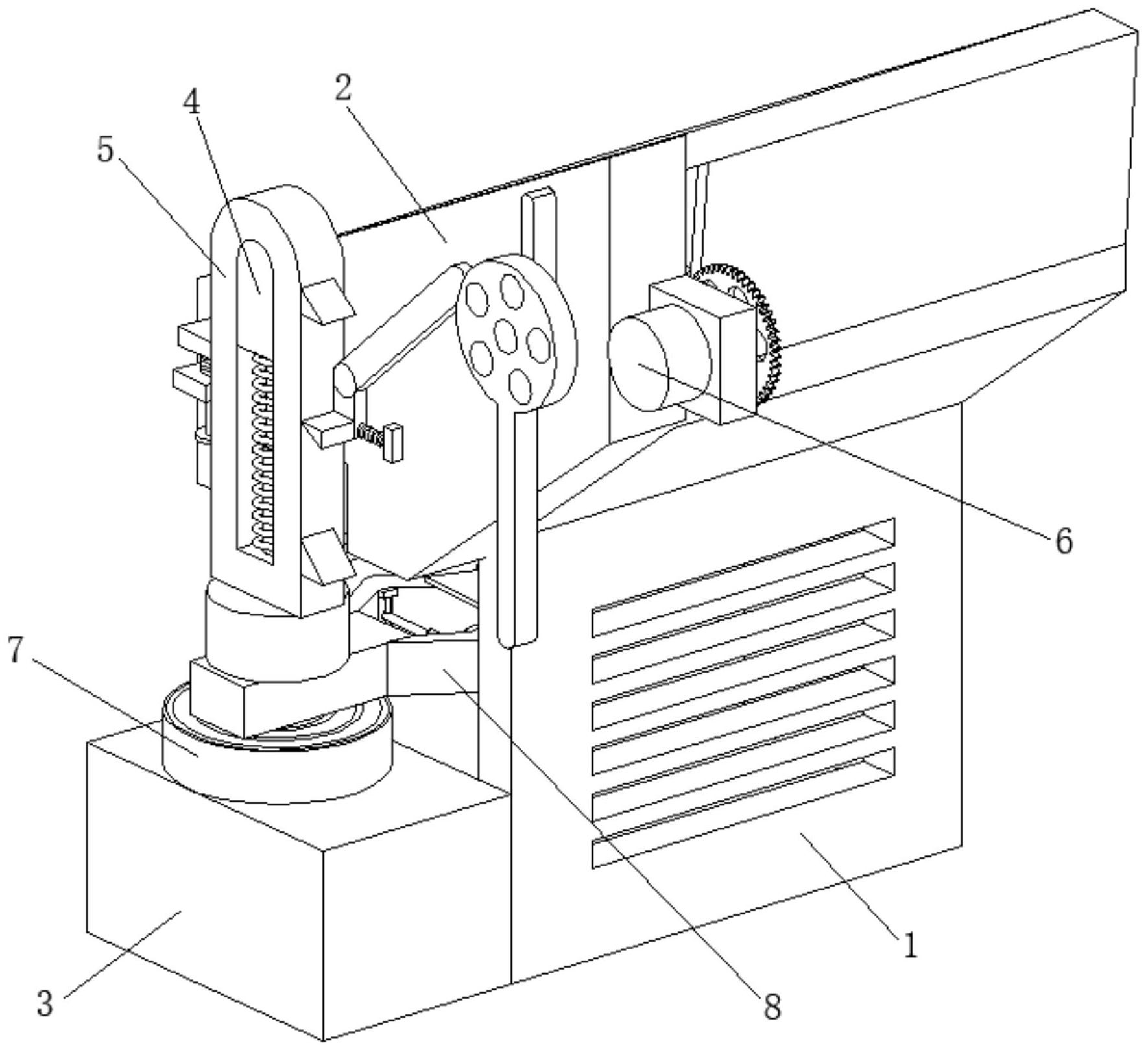
本发明涉及锻造成型技术领域,且公开了一种自动化锻造成型装置,包括箱体,所述箱体的前部分别焊接有安装板和支撑箱,所述安装板的前部焊接有限位块,所述限位块的表面设置有锻造机构,所述安装板的右侧设置有传动机构,所述支撑箱的顶部通过螺栓连接有放置板,所述放置板的顶部设置有装夹机构,通过传动机构、锻造机构、装夹机构的配合运作,可以在锻造的同时自动对钢材进行夹取翻转,从而无需工人手动翻转,减少了工人的劳动强度,防止工人长时间劳作,导致工作效率变低,甚至因疲劳致使安全事故发生,通过传动机构还可以使钢材进行间歇性旋转,从而使其在锻造时钢材不会发生旋转,防止钢材与锤头相互干扰,使装置损坏。


