授权公布号:CN216680040U
一种锻造组合模
有效
申请
2021-10-27
申请公布
1970-01-01
授权
2022-06-07
预估到期
2031-10-27
| 申请号 | CN202122594779.2 |
| 申请日 | 2021-10-27 |
| 授权公布号 | CN216680040U |
| 授权公告日 | 2022-06-07 |
| 分类号 | B21J13/02 |
| 分类 | 基本上无切削的金属机械加工;金属冲压; |
| 申请人名称 | 格尔德贝克(山西)法兰管件有限公司 |
| 申请人地址 | 山西省忻州市定襄县李家庄 |
专利法律状态
2022-06-07
授权
状态信息
授权
摘要
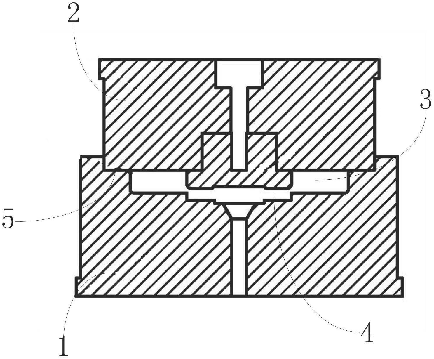
本实用新型公开了一种锻造组合模,下模的顶端开设有“凹”字形成型槽;上模为倒置的“凸”字形,且上模的台阶面与下模的台阶面对应,以形成与DN100PN16EN1092‑1/01FFSO产品尺寸对应的第一加工区间,同时上模的凸出部与“凹”字形成型槽的中心下凹处对应,以形成与1”150LBRFTHD产品尺寸对应的第二加工区间,且第二加工区间与第一加工区间接通。本实用新型公开了一种锻造组合模,可以将废料利用,从而可以同时锻造加工成DN100PN16EN1092‑1/01FFSO和1”150LBRFTHD这两种不同的锻造产品,因此可以降低生产成本、节约能源,以及可以提高生产效率。


