授权公布号:CN210789285U
一种飞轮加工用的外夹快换卡爪
有效
申请
2019-09-17
申请公布
1970-01-01
授权
2020-06-19
预估到期
2029-09-17
| 申请号 | CN201921540385.5 |
| 申请日 | 2019-09-17 |
| 授权公布号 | CN210789285U |
| 授权公告日 | 2020-06-19 |
| 分类号 | B23B31/103 |
| 分类 | 机床;不包含在其他类目中的金属加工; |
| 申请人名称 | 四川兴明泰机械有限公司 |
| 申请人地址 | 四川省内江市市中区白马镇林场路188号附1号、内江市东兴区椑木镇 |
专利法律状态
2020-06-19
授权
状态信息
授权
摘要
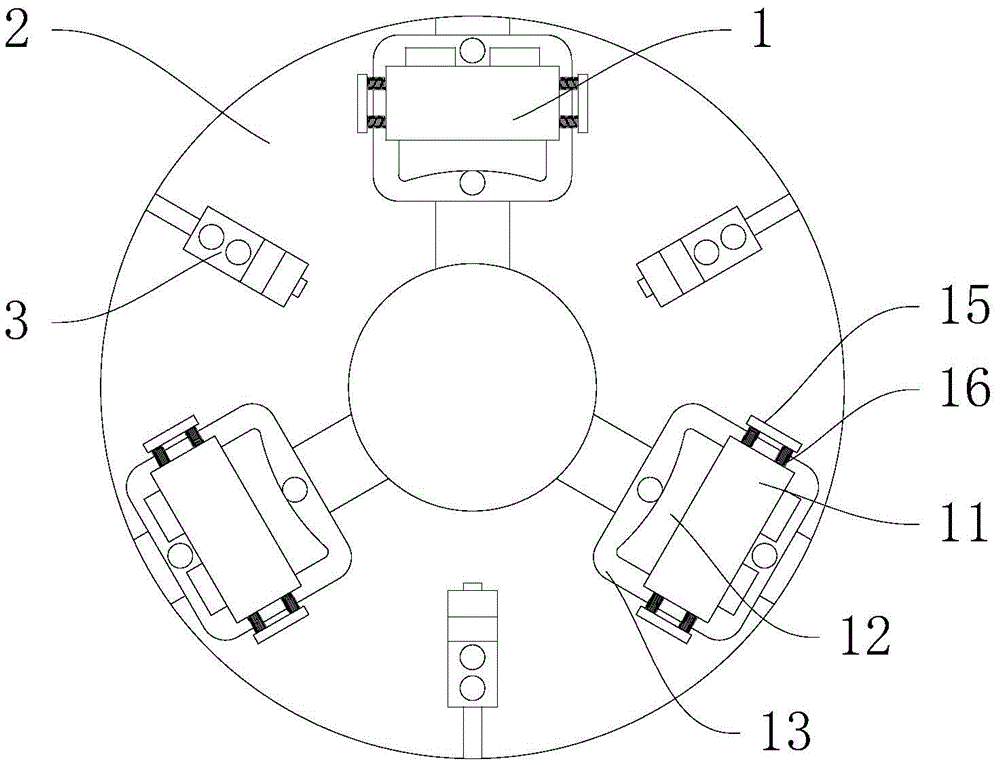
本实用新型提供一种飞轮加工用的外夹快换卡爪,包括三爪卡盘,所述三爪卡盘前端设置三组夹持组件,所述夹持组件包括安装板,所述安装板滑动连接在三爪卡盘前端且安装板与三爪卡盘的滑块固定连接,所述安装板前端固定连接外壳,所述外壳内设置夹爪且夹爪延伸出外壳靠近三爪卡盘中心一侧,所述安装板前端贴合夹板,所述外壳左右两端均对称设置两个插杆且两个插杆均穿过外壳并延伸入夹爪内,所述外壳左右两侧均设置挡板,所述挡板靠近外壳一端固定连接两个插杆,所述外壳与挡板之间固定连接两个弹簧且弹簧处在插杆环形外侧,该设计实现夹爪的快速拆装,极大地提高了生产效率。


