授权公布号:CN209686254U
一种折叠伸缩支腿装置
有效
申请
2019-03-07
申请公布
1970-01-01
授权
2019-11-26
预估到期
2029-03-07
| 申请号 | CN201920289779.1 |
| 申请日 | 2019-03-07 |
| 授权公布号 | CN209686254U |
| 授权公告日 | 2019-11-26 |
| 分类号 | E01D21/00 |
| 分类 | 道路、铁路或桥梁的建筑; |
| 申请人名称 | 郑州市华中建机有限公司 |
| 申请人地址 | 河南省郑州市上街区工业路114号 |
专利法律状态
2019-11-26
授权
状态信息
授权
摘要
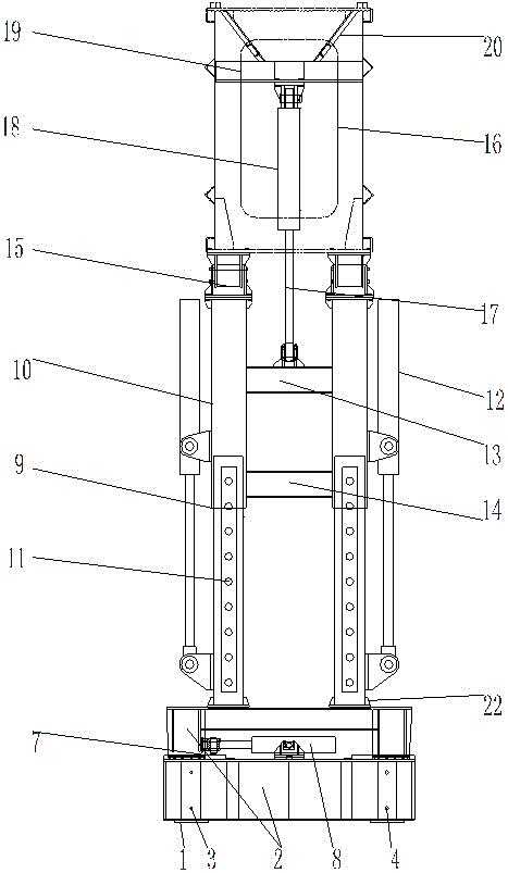
本实用新型涉及一种折叠伸缩支腿装置,它包括地梁,所述地梁上方固定有分配梁,分配梁左右两端设有左内套和右内套,所述左内套和右内套两侧设置有第一滑道,所述左内套和右内套之间设置有分配梁液压油缸,所述分配梁顶端还设置有第二滑道和横移油缸,所述分配梁上方还固定有伸缩导柱,所述伸缩导柱由外导套和内导柱组成,所述外导套上端一侧与顶升油缸底端连接,所述内导柱下端一侧与顶升油缸顶升端连接,所述外导套由中支腿上横梁和中支腿下横梁连接,所述伸缩导柱上端固定有绞座,所述中支腿上横梁与折叠油缸内导柱铰接,所述折叠油缸底端固定在主箱梁横梁上;本实用新型具有结构合理、工作效率高、安全程度高的优点。


