授权公布号:CN204689413U
桥式起重机及其起重小车
有效
申请
2015-04-23
申请公布
1970-01-01
授权
2015-10-07
预估到期
2025-04-23
| 申请号 | CN201520256134.X |
| 申请日 | 2015-04-23 |
| 授权公布号 | CN204689413U |
| 授权公告日 | 2015-10-07 |
| 分类号 | B66C11/00;B66C11/16;B66C9/00 |
| 分类 | 卷扬;提升;牵引; |
| 申请人名称 | 广州起重机械有限公司 |
| 申请人地址 | 广东省广州市白云区广园中路283号 |
专利法律状态
2015-10-07
授权
状态信息
授权
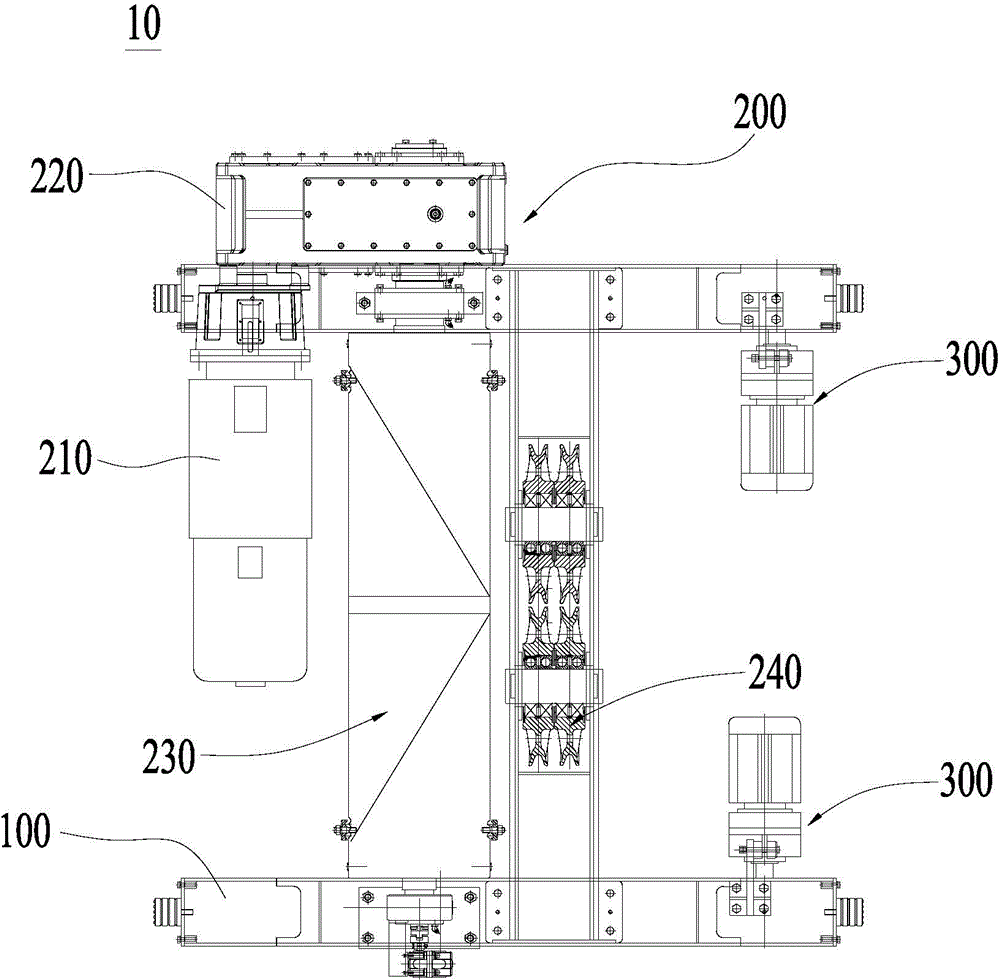
摘要
本实用新型涉及一种桥式起重机及其起重小车。该起重小车包括车架、小车起升机构及小车运行机构。该小车起升机构设在车架上,包括起升电动机、起升制动器、起升减速器、卷筒组件、滑轮组件和吊钩。其中,起升电动机与起升减速器之间通过法兰盘连接,起升制动器与起升电动机连接,卷筒组件与起升减速器连接,滑轮组件通过缆绳与卷筒组件连接,吊钩与滑轮组件固定连接。该小车运行机构,设在车架上,控制小车起升机构沿车架滑动。该桥式起重机及其起重小车的起升电动机与起升减速器之间采用法兰盘连接,组装时装配精度高、组装方便且定位精确。


