授权公布号:CN204689406U
起重机及其车轮组
有效
申请
2015-04-23
申请公布
1970-01-01
授权
2015-10-07
预估到期
2025-04-23
| 申请号 | CN201520252635.0 |
| 申请日 | 2015-04-23 |
| 授权公布号 | CN204689406U |
| 授权公告日 | 2015-10-07 |
| 分类号 | B66C9/08 |
| 分类 | 卷扬;提升;牵引; |
| 申请人名称 | 广州起重机械有限公司 |
| 申请人地址 | 广东省广州市白云区广园中路283号 |
专利法律状态
2015-10-07
授权
状态信息
授权
摘要
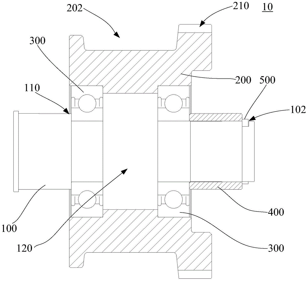
本实用新型涉及一种起重机及其车轮组,该车轮组包括车轮轴、车轮、轴承、轴隔套以及轴端挡板,轴端挡板通过固定件与车轮固定连接。该起重机的车轮组结构简单,加工及装配方便,重量显著减轻。采用带防尘盖的轴承大大简化了零部件的种类和数量,使整个车轮组的结构更为紧凑,有效减小车轮装配宽度,从而可有效缩小端梁的截面尺寸。


