授权公布号:CN219194232U
一种电动葫芦运行防滑跑车
有效
申请
2022-11-16
申请公布
1970-01-01
授权
2023-06-16
预估到期
2032-11-16
| 申请号 | CN202223051482.2 |
| 申请日 | 2022-11-16 |
| 授权公布号 | CN219194232U |
| 授权公告日 | 2023-06-16 |
| 分类号 | B66C9/18;B66C9/14;B66C13/16 |
| 分类 | 卷扬;提升;牵引; |
| 申请人名称 | 广州起重机械有限公司 |
| 申请人地址 | 广东省广州市白云区白云大道南695-697号201之自编208 |
专利法律状态
2023-06-16
授权
状态信息
授权
摘要
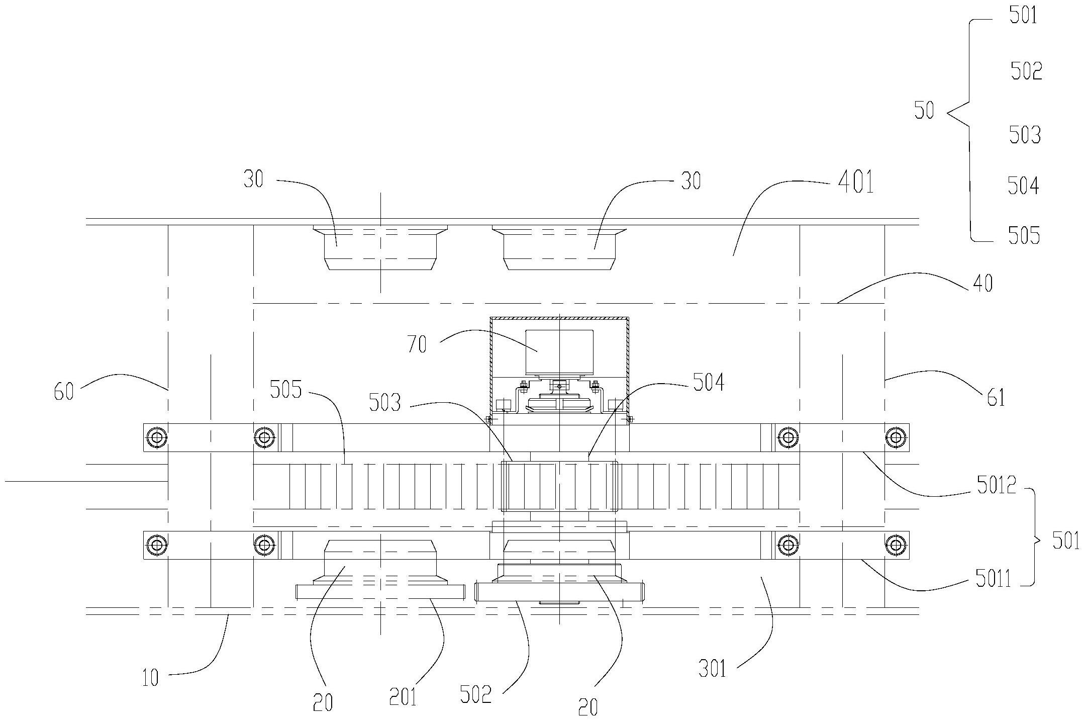
本实用新型公开了一种电动葫芦运行防滑跑车,包括安装座、车轮组、驱动装置和防滑装置,车轮组包括主动车轮组和被动车轮组,主动车轮组和被动车轮组分别可转动地设于安装座的相对两侧且能够分别在横轨的相对两侧的轨道内滚动而行走,驱动装置设于安装座上并与主动车轮组啮合传动;防滑装置包括支承座、传动齿条和齿轮传动机构,支承座设置于安装座上,齿轮传动机构可转动地设于支承座上并与主动车轮组啮合传动连接,传动齿条沿着车轮组在轨道内行走的路径设置于横轨上并与齿轮传动机构啮合传动,如此在急行制动时,通过齿轮传动机构与传动齿条的啮合来限制主动车轮组在轨道内打滑,有效地克服电动葫芦行走的车轮在急行制动时定位不准的缺陷。


