授权公布号:CN216194110U
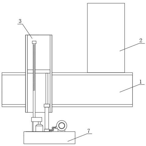
一种公路架桥机的前支腿升降机构
有效
申请
2022-02-28
申请公布
1970-01-01
授权
2022-04-05
预估到期
2032-02-28
| 申请号 | CN202220412252.5 |
| 申请日 | 2022-02-28 |
| 授权公布号 | CN216194110U |
| 授权公告日 | 2022-04-05 |
| 分类号 | E01D21/00 |
| 分类 | 道路、铁路或桥梁的建筑; |
| 申请人名称 | 河南省新东方起重机集团有限公司 |
| 申请人地址 | 河南省新乡市长垣县魏庄工业区华豫大道122号 |
专利法律状态
2022-04-05
授权
状态信息
授权
摘要
本实用新型公开了一种公路架桥机的前支腿升降机构,包括横梁和前支腿本体,所述前支腿本体固定在横梁的一端上;所述横梁上贯穿有套筒,套筒的内部设有升降组件和加强组件,升降组件的底端穿出套筒固定在底座上。本公路架桥机的前支腿升降机构,减速机降低旋转速率,提高扭矩,驱动螺杆旋转;螺杆在旋转的过程中,带动内承板上升或者下降。气泵通过向第一气管内送入气体,驱动气缸内部压强增大,支撑杆伸长,用于在内承板上升的过程中,起到辅助支撑的作用。


