授权公布号:CN214710576U
一种精油爆珠口罩
有效
申请
2021-02-22
申请公布
1970-01-01
授权
2021-11-16
预估到期
2031-02-22
| 申请号 | CN202120385509.8 |
| 申请日 | 2021-02-22 |
| 授权公布号 | CN214710576U |
| 授权公告日 | 2021-11-16 |
| 分类号 | A41D13/11;A41D31/30 |
| 分类 | 服装; |
| 申请人名称 | 石家庄以岭药业股份有限公司 |
| 申请人地址 | 河北省石家庄市高新技术开发区天山大街238号 |
专利法律状态
2021-11-16
授权
状态信息
授权
摘要
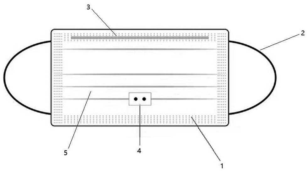
本实用新型公开了一种精油爆珠口罩,包括口罩本体、位于口罩本体相对两侧边的耳带、设于口罩本体顶缘的鼻夹条、爆珠附件,口罩本体上设有褶皱区,爆珠附件置于褶皱区朝向面部一侧的缝隙中,爆珠附件为封装于透气胶带中的精油爆珠。使用时先将爆珠附件中的精油爆珠按爆,然后将爆珠附件从口罩褶皱缝隙中取出,最后按照正常方法佩戴即可。爆珠中的精油能够抗菌抗病毒,去除口罩内的异味,从而增强口罩的防护功能,延长口罩的佩戴时间,减少废弃,更经济环保。


