授权公布号:CN212893768U
一种内燃式汽油机叉车动力装置
有效
申请
2020-08-11
申请公布
1970-01-01
授权
2021-04-06
预估到期
2030-08-11
| 申请号 | CN202021664602.4 |
| 申请日 | 2020-08-11 |
| 授权公布号 | CN212893768U |
| 授权公告日 | 2021-04-06 |
| 分类号 | B66F9/20;B66F9/075 |
| 分类 | 卷扬;提升;牵引; |
| 申请人名称 | 浙江尤恩叉车股份有限公司 |
| 申请人地址 | 浙江省杭州市富阳区新登镇新登新区1号路1号 |
专利法律状态
2021-04-06
授权
状态信息
授权
摘要
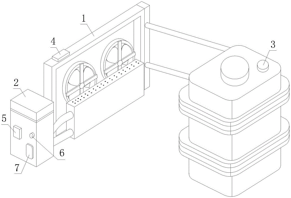
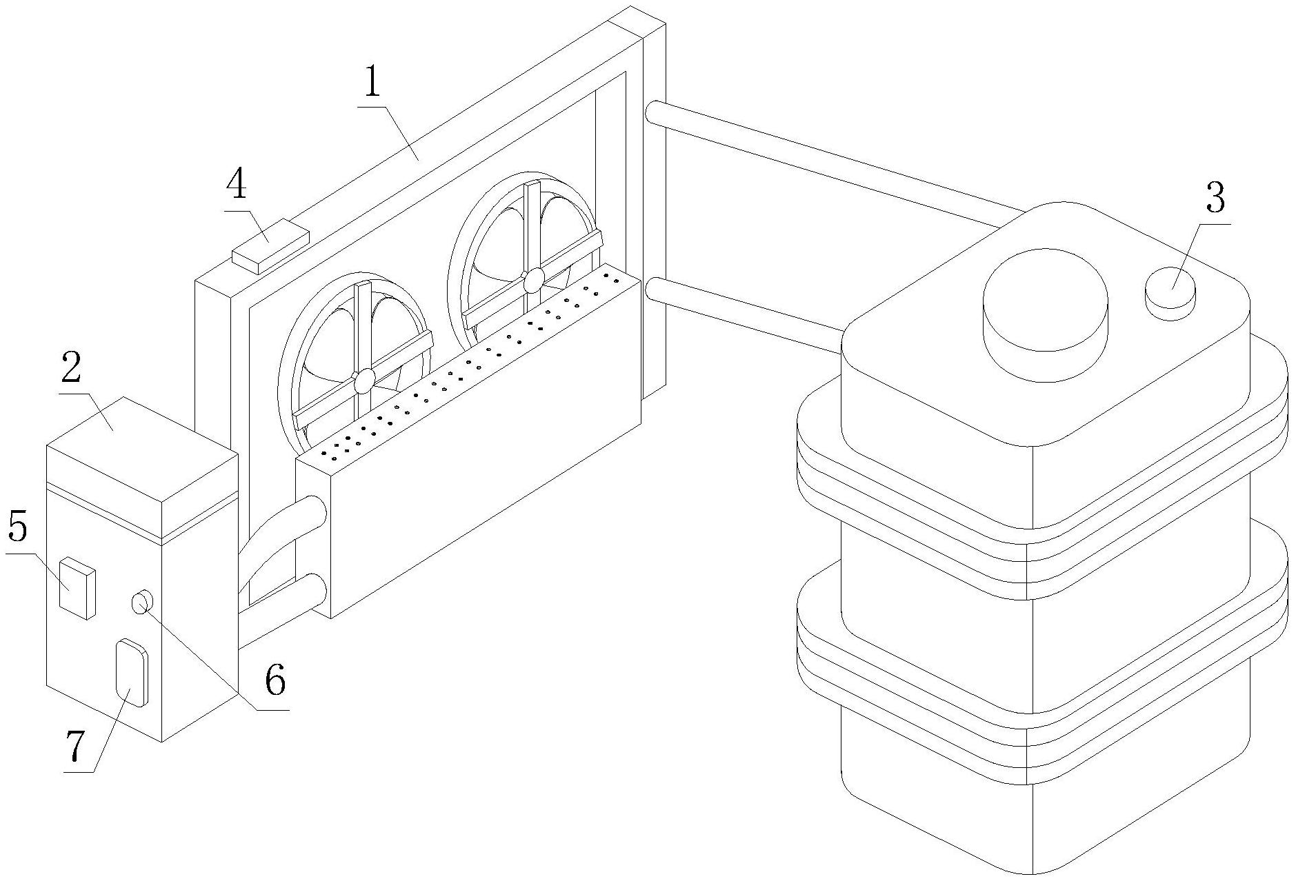
本实用新型公开了一种内燃式汽油机叉车动力装置,包括风冷机构和制冷机构,制冷机构安装在风冷机构一侧,通过通过风扇构件的作用,将散热水箱本体释放的冷气和散热洞挥发的冷气吹到动力装置中,起到了高效率的散热,且比较环保,没有化学物质污染,通过水位高过开设在箱体一侧的出水口时,会流出出水口通过进水管流入到制冷水箱中进行制冷,不断循环,保证了散热效率,当压力模块停止工作后,内腔体中的水会通过斜面流入到制冷水箱中,使得的水重新进入制冷水箱制冷,节约了能源,通过温度传感模块感应制冷水箱的温度,再通过信息传输模块将实时温度的信息传输给用户,可以对动力装置进行预处理,增加了实用性。


