授权公布号:CN113752183B
凸焊螺栓破检定位装置
有效
申请
2021-08-30
申请公布
2021-12-07
授权
2023-06-23
预估到期
2041-08-30
| 申请号 | CN202111004490.9 |
| 申请日 | 2021-08-30 |
| 申请公布号 | CN113752183A |
| 申请公布日 | 2021-12-07 |
| 授权公布号 | CN113752183B |
| 授权公告日 | 2023-06-23 |
| 分类号 | B25B11/00 |
| 分类 | 手动工具;轻便机动工具;手动器械的手柄;车间设备;机械手; |
| 申请人名称 | 东风模具冲压技术有限公司 |
| 申请人地址 | 湖北省武汉市武汉经济技术开发区神龙路69号 |
专利法律状态
2023-06-23
授权
状态信息
授权
2021-12-24
实质审查的生效
状态信息
实质审查的生效;IPC(主分类):B25B11/00;申请日:20210830
2021-12-07
公布
状态信息
公布
摘要
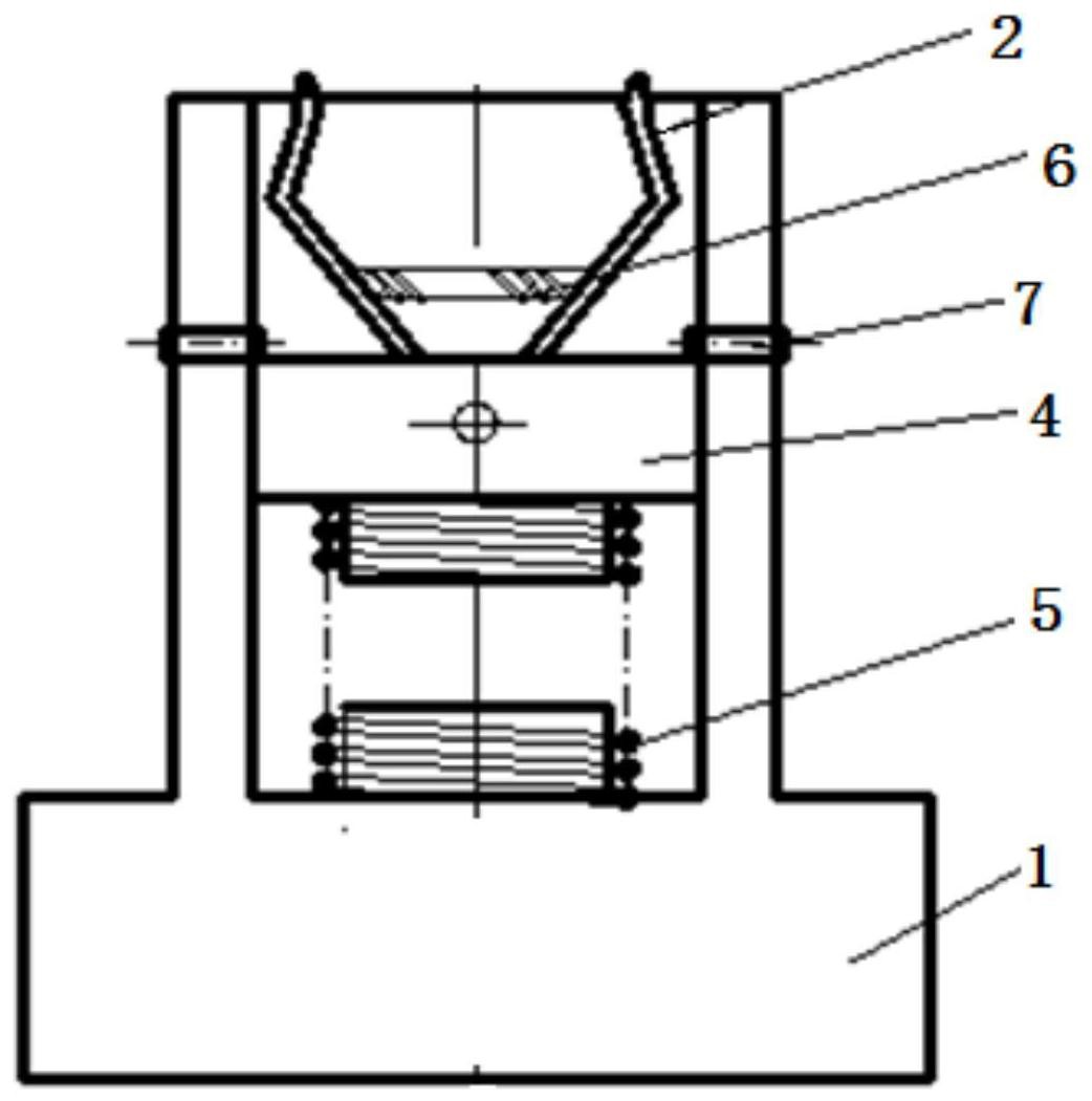
本发明涉及一种凸焊螺栓破检定位装置,该破检定位装置,包括支座、定位卡爪和上压头,支座底部水平设置在检测台上,上部设有竖直设置的支撑部,支撑部之间设有定位卡爪;焊接有焊接螺栓的待检测工件放置在支撑部支撑面上,焊接螺栓处于支撑部中心位置,定位卡爪夹住焊接螺栓的螺帽外缘面;上压头顶住焊接螺栓螺杆下行,定位卡爪随待检测工件下行,待检测工件贴紧支撑部支撑面,上压头继续下行至焊接螺栓强行与待检测工件分离为止,完成检测。本发明有效解决了凸焊螺栓在检测时放偏引起的结果不稳定问题,准确性100%、检测效率提升30%。


