授权公布号:CN214393033U
工装升降旋转机构
有效
申请
2020-12-29
申请公布
1970-01-01
授权
2021-10-15
预估到期
2030-12-29
| 申请号 | CN202023243722.X |
| 申请日 | 2020-12-29 |
| 授权公布号 | CN214393033U |
| 授权公告日 | 2021-10-15 |
| 分类号 | B23K37/047 |
| 分类 | 机床;不包含在其他类目中的金属加工; |
| 申请人名称 | 东风模具冲压技术有限公司 |
| 申请人地址 | 湖北省武汉市武汉经济技术开发区神龙路69号 |
专利法律状态
2021-10-15
授权
状态信息
授权
摘要
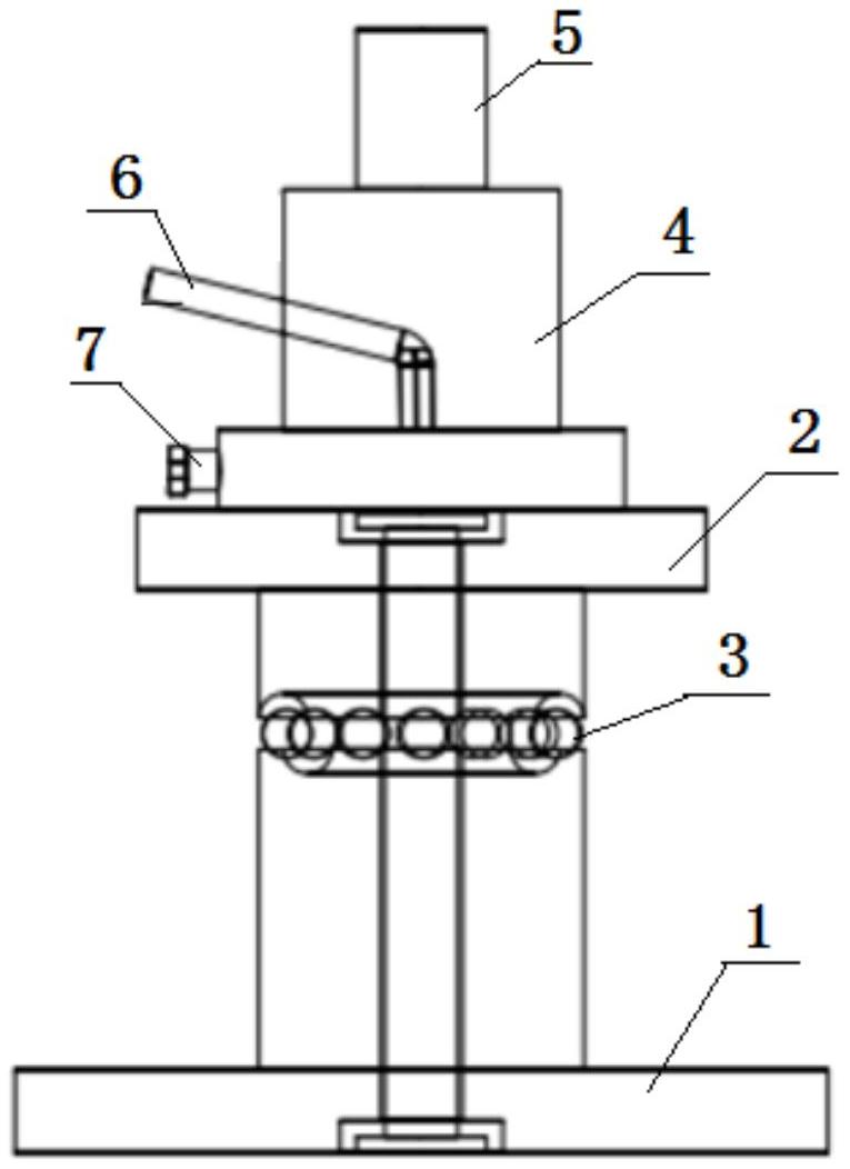
本实用新型涉及一种工装升降旋转机构,该机构,包括上支撑板、下支撑板、顶升组件、旋转组件和用于支撑工装夹具的支撑杆,所述下支撑板设置在地面上,旋转组件设置在下支撑板和上支撑板之间,上支撑板在旋转组件的作用下在水平面内作旋转运动;顶升组件设置在上支撑板上,顶升组件的输出端与支撑杆连接,驱动支撑杆上下垂直运动。通过顶升组件和支撑杆撑起大型工装,使大型工装处于悬空状态;在上支撑板和下支撑板之间设置旋转组件,工装处于悬空状态后,一个操作工人只需要很小的力,即可轻松实现工装原地旋转。本实用新型大大减少了工人劳动强度,方便作业者焊接作业,有效的提高工作效率,节约人力成本。


