授权公布号:CN212664666U
快换冲头结构
有效
申请
2020-05-22
申请公布
1970-01-01
授权
2021-03-09
预估到期
2030-05-22
| 申请号 | CN202020877736.8 |
| 申请日 | 2020-05-22 |
| 授权公布号 | CN212664666U |
| 授权公告日 | 2021-03-09 |
| 分类号 | B21D28/34;B21D37/04 |
| 分类 | 基本上无切削的金属机械加工;金属冲压; |
| 申请人名称 | 东风模具冲压技术有限公司 |
| 申请人地址 | 湖北省武汉市武汉经济技术开发区神龙路69号 |
专利法律状态
2021-03-09
授权
状态信息
授权
摘要
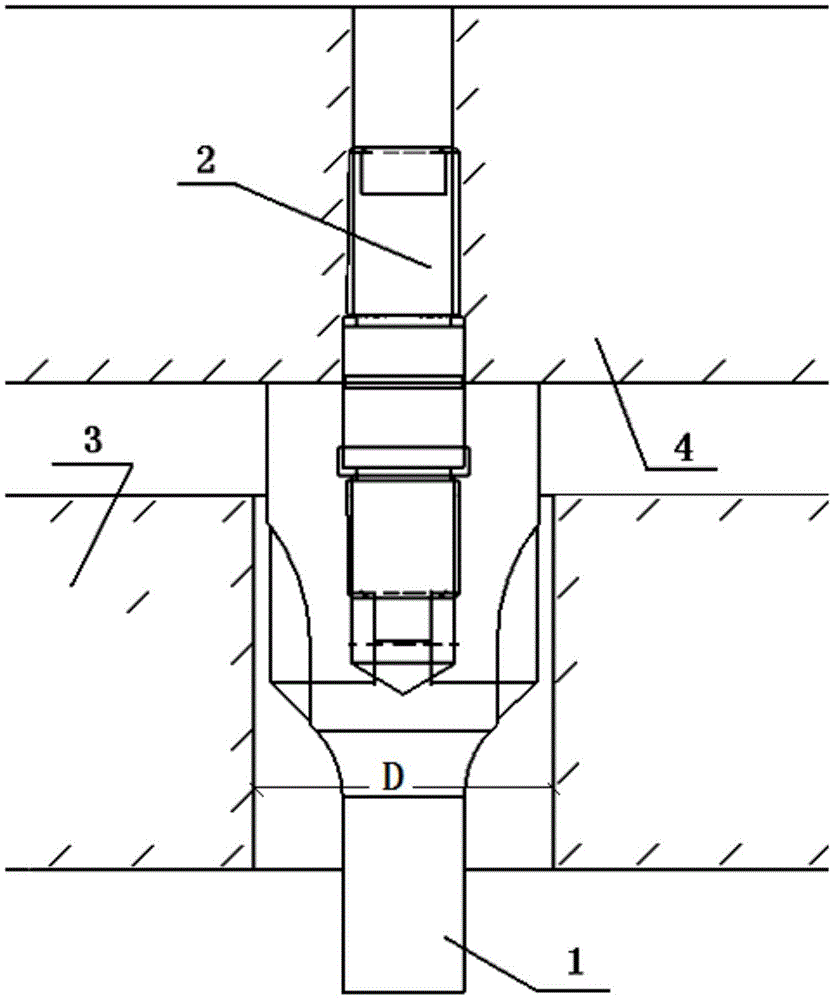
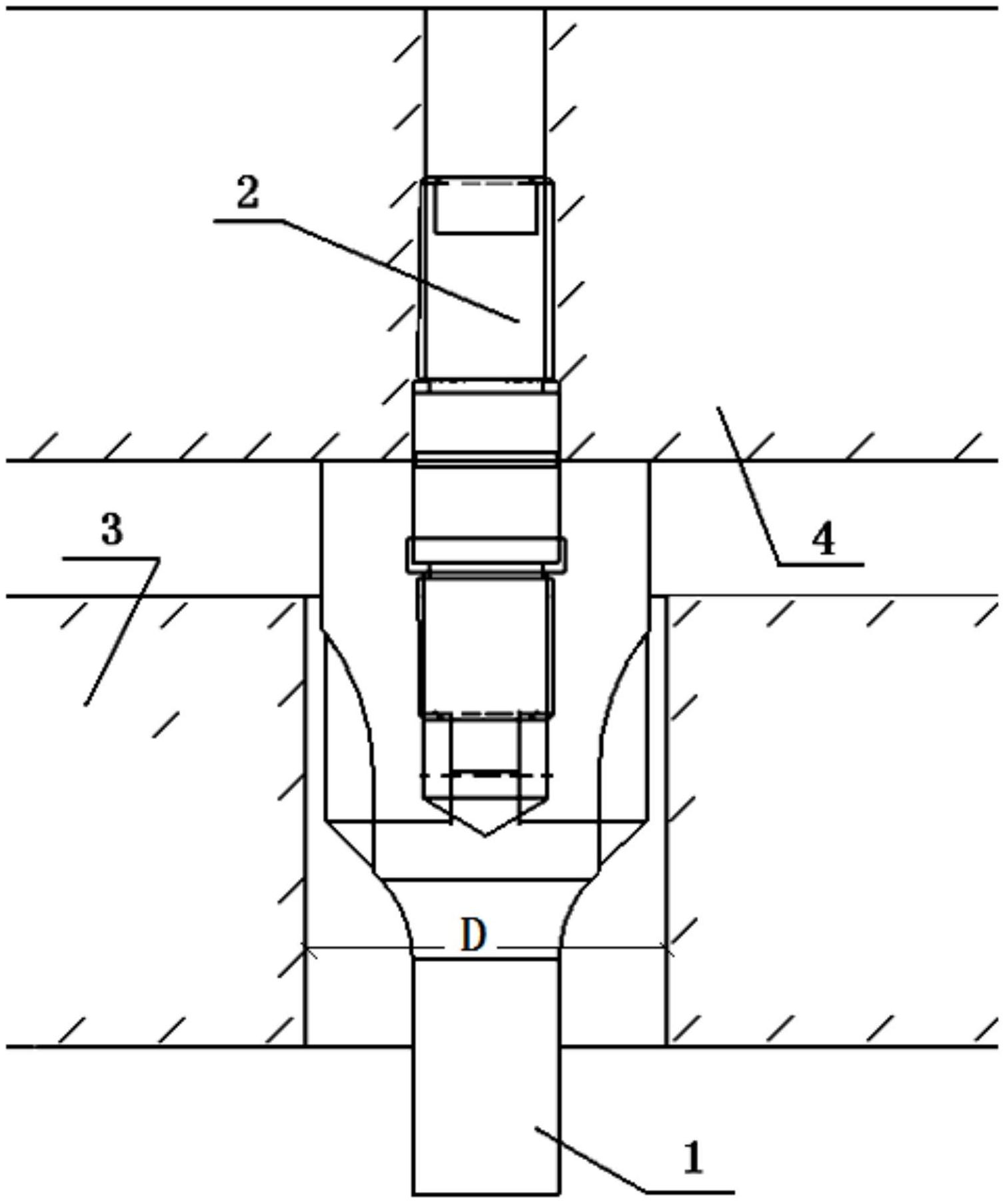
本实用新型涉及一种快换冲头结构,该冲头结构,包括冲头本体、压料板和冲头固定板,冲头本体上端通过连接杆与冲头固定板连接,下端从压料板的冲头本体过孔穿出;连接杆上端与冲头固定板螺纹连接,下端与冲头本体螺纹连接。结构简单,取消了固定板和螺钉柱销等零件,降低材料成本和加工成本;拆卸方便,使用专用拆卸工具卡入冲头本体卡槽,旋转工具即可直接将冲头本体从冲头固定板中卸下,再用扳手把连接杆从冲头本体中卸下即可;装配快捷,用扳手把连接杆旋入冲头本体,使用专用拆卸工具将冲头本体旋入冲头固定板即可。使用该结构将原来需要20分钟完成的更换冲头的任务在2分钟内完成,大大缩短了更换时间90%。


