授权公布号:CN215280344U
一种用于螺栓凸焊的下电极结构
有效
申请
2021-05-13
申请公布
1970-01-01
授权
2021-12-24
预估到期
2031-05-13
| 申请号 | CN202121028646.2 |
| 申请日 | 2021-05-13 |
| 授权公布号 | CN215280344U |
| 授权公告日 | 2021-12-24 |
| 分类号 | B23K11/30;B23K11/14 |
| 分类 | 机床;不包含在其他类目中的金属加工; |
| 申请人名称 | 东风模具冲压技术有限公司 |
| 申请人地址 | 湖北省武汉市武汉经济技术开发区神龙路69号 |
专利法律状态
2021-12-24
授权
状态信息
授权
摘要
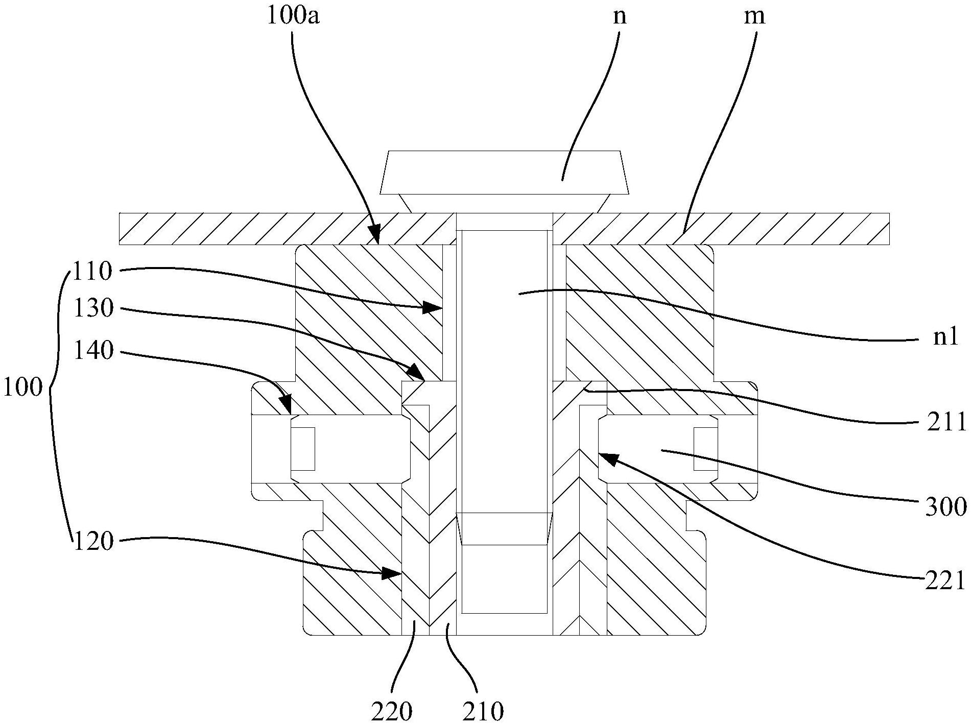
本公开提供了一种用于螺栓凸焊的下电极结构,属于机械加工设备技术领域。该下电极结构包括下电极端盖、定位芯和定位螺钉。其中,下电极端盖呈圆柱状且一端具有加工面,下电极端盖具有由第一圆形通孔和第二圆形通孔依次连接组成的安装通孔。下电极端盖的侧壁上具有与第二圆形通孔垂直相贯的螺纹孔。定位芯包括定位筒和限位筒,定位筒的一端具有外凸缘。限位筒套接在定位筒的外壁上,限位筒的外壁上具有与螺纹孔相匹配的定位凹槽,定位芯设置在第二圆形通孔内且与下电极端盖同轴。定位螺钉安装在螺纹孔中且一端与定位凹槽的槽底相抵接。该下电极结构能够有效提高使用寿命。


