授权公布号:CN112665476B
焊接机器人抓手精度检测装置
有效
申请
2020-12-29
申请公布
2021-04-16
授权
2022-11-01
预估到期
2040-12-29
| 申请号 | CN202011594194.4 |
| 申请日 | 2020-12-29 |
| 申请公布号 | CN112665476A |
| 申请公布日 | 2021-04-16 |
| 授权公布号 | CN112665476B |
| 授权公告日 | 2022-11-01 |
| 分类号 | G01B5/00;G01B5/004 |
| 分类 | 测量;测试; |
| 申请人名称 | 东风模具冲压技术有限公司 |
| 申请人地址 | 湖北省武汉市武汉经济技术开发区神龙路69号 |
专利法律状态
2022-11-01
授权
状态信息
授权
2021-04-16
公布
状态信息
公布
摘要
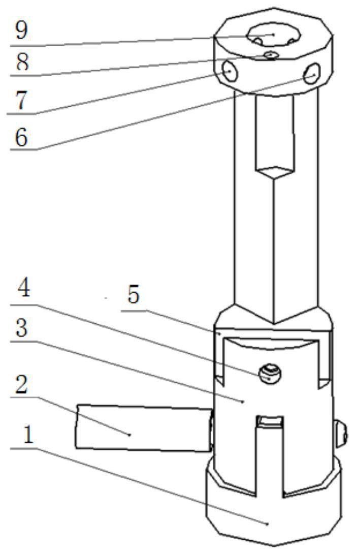
本发明涉及一种焊接机器人抓手精度检测装置,该检测装置,包括底座和检具本体,检具本体包括连接座、检测座和连杆;检测座上设有与销套孔,销套孔内设有销套,机器人抓手上的定位销与销套配合;定位销能插进销套无干涉,则定位销偏移量在给定的范围内,为合格;定位销不能插进销套有干涉,则定位销偏移量不在给定的范围内,为不合格。本发明制造成本低,没有数模或者数模结构与实物不符合时,也能对机器人抓手进行精度标定及精度维护工作;不需要专业的三坐标标定人员,普通的车间保全通过简单的培训就可完成;相比三坐标的标定时间更少,测量的报告更简单。


