授权公布号:CN216801386U
一种防止冲压模具废屑产生的修边装置
有效
申请
2021-11-26
申请公布
1970-01-01
授权
2022-06-24
预估到期
2031-11-26
| 申请号 | CN202122960633.5 |
| 申请日 | 2021-11-26 |
| 授权公布号 | CN216801386U |
| 授权公告日 | 2022-06-24 |
| 分类号 | B21D37/12;B21D19/00 |
| 分类 | 基本上无切削的金属机械加工;金属冲压; |
| 申请人名称 | 东风模具冲压技术有限公司 |
| 申请人地址 | 湖北省武汉市武汉经济技术开发区神龙路69号 |
专利法律状态
2022-06-24
授权
状态信息
授权
摘要
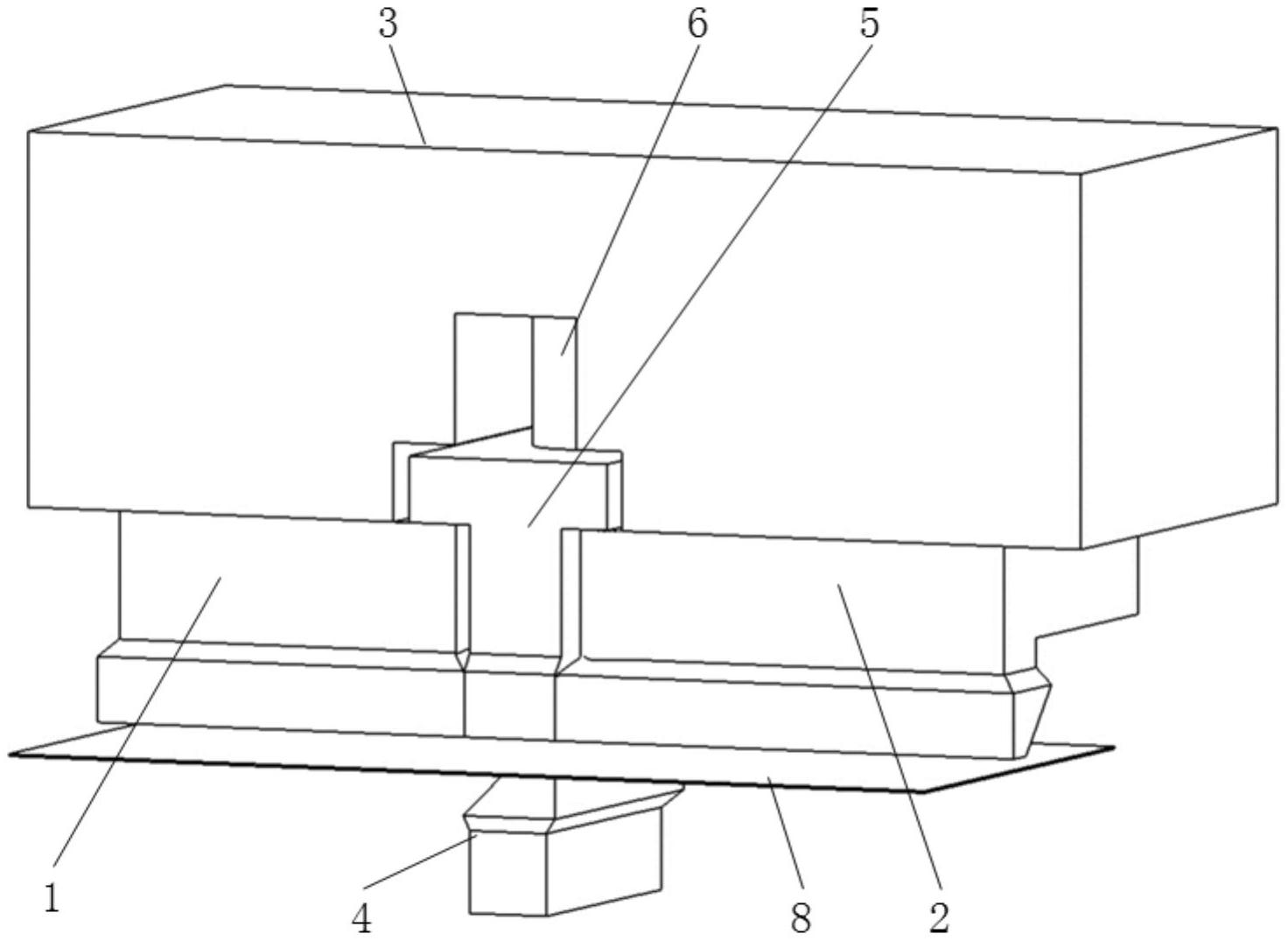
本实用新型涉及一种防止冲压模具废屑产生的修边装置,包括设置在上模的第一侧镶块、第二侧镶块、上底板和设置在下模的废料刀,第一侧镶块和第二侧镶块分别固定在上底板下端的两侧,还包括浮动镶块和弹性元件;浮动镶块设置在第一侧镶块和第二侧镶块之间,且浮动镶块位于废料刀上方;上底板下端中间设有凹槽,弹性元件、浮动镶块由上至下依次设置在凹槽内;合模时,弹性元件带动浮动镶块向下移动,使浮动镶块和第一侧镶块、第二侧镶块三者的刃口齐平,以便同时切断板料;板料切断后,弹性元件带动浮动镶块向上移动,以便废料刀进一步切断废料。


