授权公布号:CN214889028U
一种高温硬密封浮动球阀
有效
申请
2021-07-27
申请公布
1970-01-01
授权
2021-11-26
预估到期
2031-07-27
| 申请号 | CN202121726826.8 |
| 申请日 | 2021-07-27 |
| 授权公布号 | CN214889028U |
| 授权公告日 | 2021-11-26 |
| 分类号 | F16K5/06;F16K5/08;F16K5/20 |
| 分类 | 工程元件或部件;为产生和保持机器或设备的有效运行的一般措施;一般绝热; |
| 申请人名称 | 方正阀门集团股份有限公司 |
| 申请人地址 | 浙江省温州市温州经济技术开发区滨海一道1921号 |
专利法律状态
2021-11-26
授权
状态信息
授权
摘要
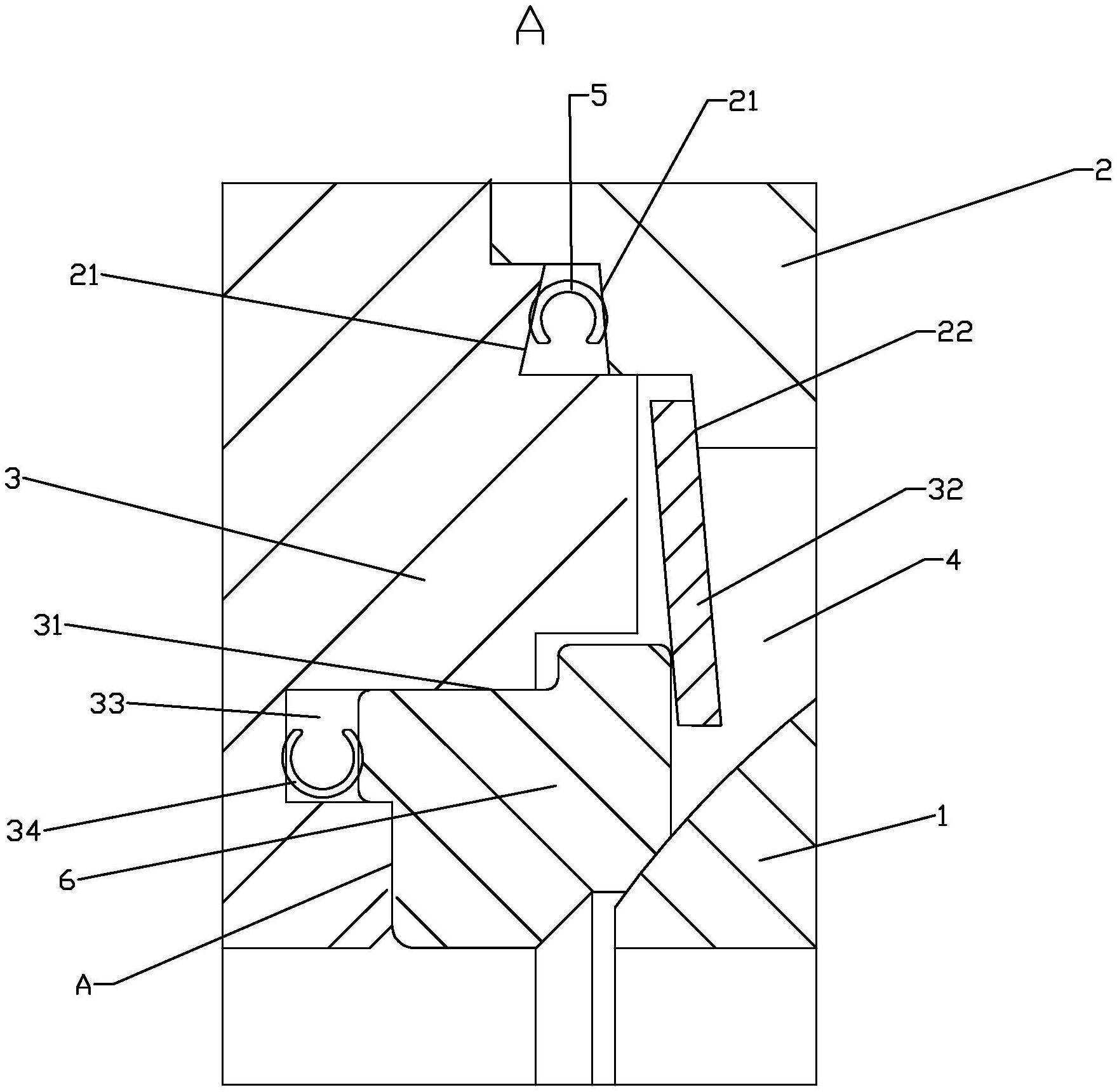
本实用新型涉及一种高温硬密封浮动球阀,包括球体、阀体和阀盖,阀体和阀盖左右分布且固定配合,阀体和阀盖之间形成用于安装球体的腔体,其特征在于:阀体与阀盖分别相对设置有环绕腔体的挤压斜面,阀体与阀盖的挤压斜面间距随着靠近内侧逐渐增加,阀体与阀盖的挤压斜面压缩设置有唇口朝向内侧的第一金属C型圈。采用上述方案,本实用新型提高一种提高密封性能的高温硬密封浮动球阀。


