授权公布号:CN111577920B
一种高温硬密封固定球阀
有效
申请
2020-04-30
申请公布
2020-08-25
授权
2021-11-30
预估到期
2040-04-30
| 申请号 | CN202010361970.X |
| 申请日 | 2020-04-30 |
| 申请公布号 | CN111577920A |
| 申请公布日 | 2020-08-25 |
| 授权公布号 | CN111577920B |
| 授权公告日 | 2021-11-30 |
| 分类号 | F16K5/06;F16K5/20 |
| 分类 | 工程元件或部件;为产生和保持机器或设备的有效运行的一般措施;一般绝热; |
| 申请人名称 | 方正阀门集团股份有限公司 |
| 申请人地址 | 浙江省温州市温州经济技术开发区滨海一道1921号 |
专利法律状态
2021-11-30
授权
状态信息
授权
2020-09-18
实质审查的生效
状态信息
实质审查的生效;IPC(主分类):F16K5/06;申请日:20200430
2020-08-25
公布
状态信息
公布
摘要
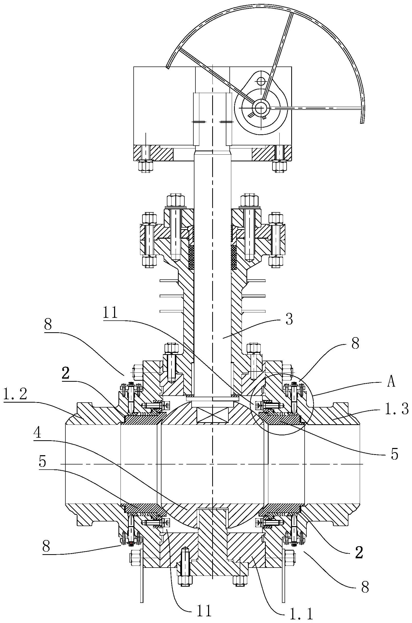
本发明公开了一种高温硬密封固定球阀,包括阀体以及设置于阀体内的安装槽,所述阀体上安装有穿设进阀体内部的阀杆,所述阀杆位于阀体内部的一端设有球体,所述安装槽内设有配合球体形成密封的阀座,所述安装槽与阀座之间形成有安装间距,所述安装间距内设有用于密封阀座与安装槽两者之间间隙的第一密封件,所述阀体外设有用于调节第一密封件密封等级的调节机构。本发明具有以下优点和效果:本发明通过在线调节第一密封件,既可以解决高温下出现的松弛泄漏,又能实现阀座正常地往复运动,保证密封可靠性。


