授权公布号:CN212564500U
超低扭矩控制阀
有效
申请
2020-04-30
申请公布
1970-01-01
授权
2021-02-19
预估到期
2030-04-30
| 申请号 | CN202020714422.6 |
| 申请日 | 2020-04-30 |
| 授权公布号 | CN212564500U |
| 授权公告日 | 2021-02-19 |
| 分类号 | F16K5/20;F16K5/06 |
| 分类 | 工程元件或部件;为产生和保持机器或设备的有效运行的一般措施;一般绝热; |
| 申请人名称 | 方正阀门集团股份有限公司 |
| 申请人地址 | 浙江省温州市温州经济技术开发区滨海一道1921号 |
专利法律状态
2021-02-19
授权
状态信息
授权
摘要
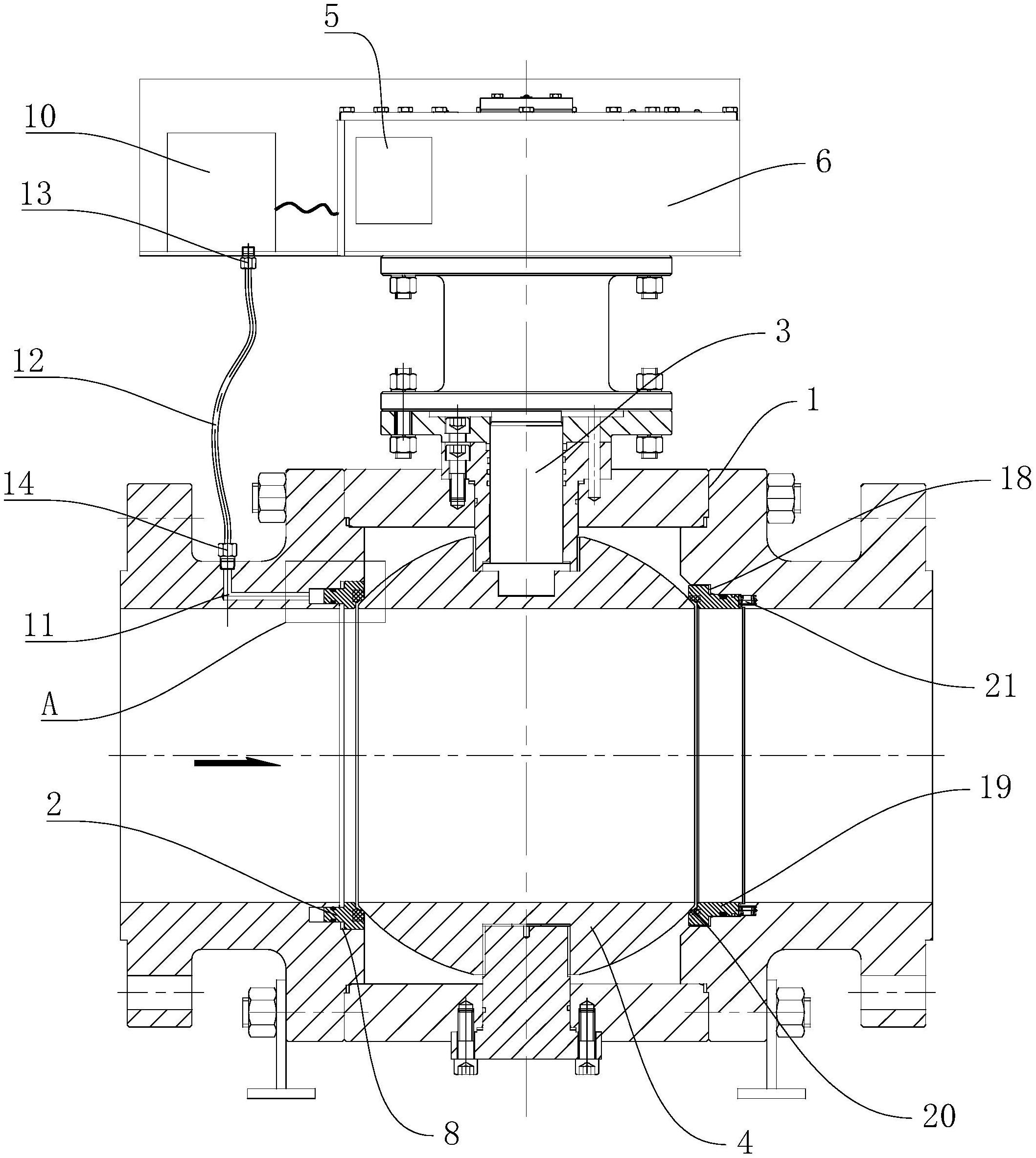
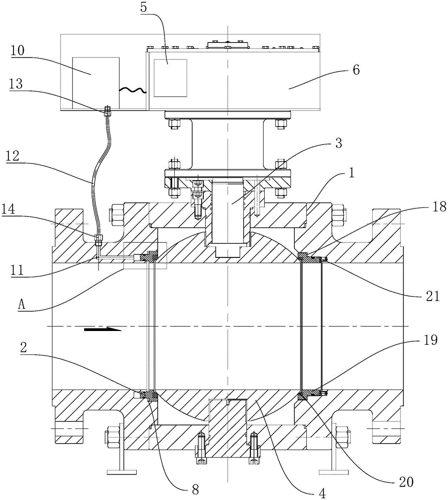
本实用新型公开了一种超低扭矩控制阀,包括阀体、设置于阀体内部的左阀座以及安装于阀体的自动控制执行机构,所述阀体上安装有穿设进阀体内部的阀杆,所述阀杆位于阀体内部的一端设有球体,所述自动控制执行机构包括控制器以及与控制器电连接且用于驱动阀杆转动的执行器,所述阀体内部开设有供左阀座安装的第一安装槽,所述左阀座朝向球体往复滑移设置于第一安装槽,所述第一安装槽与左阀座之间形成有一用于驱动左阀座朝向球体移动的密封驱动腔,所述阀体外侧设有用于控制密封驱动腔内压强的控制组件。本实用新型具有以下优点和效果:本实用新型能降低阀门的转动扭矩并延长密封面的使用寿命。


