授权公布号:CN210098784U
辅助滑料装置
失效
申请
2019-01-23
申请公布
1970-01-01
授权
2020-02-21
预估到期
2029-01-23
| 申请号 | CN201920113991.2 |
| 申请日 | 2019-01-23 |
| 授权公布号 | CN210098784U |
| 授权公告日 | 2020-02-21 |
| 分类号 | B21D45/06 |
| 分类 | 基本上无切削的金属机械加工;金属冲压; |
| 申请人名称 | 上海屹丰汽车模具制造有限公司 |
| 申请人地址 | 上海市宝山区罗宁路1168号(宝山工业园区) |
专利法律状态
2020-02-21
授权
状态信息
授权
摘要
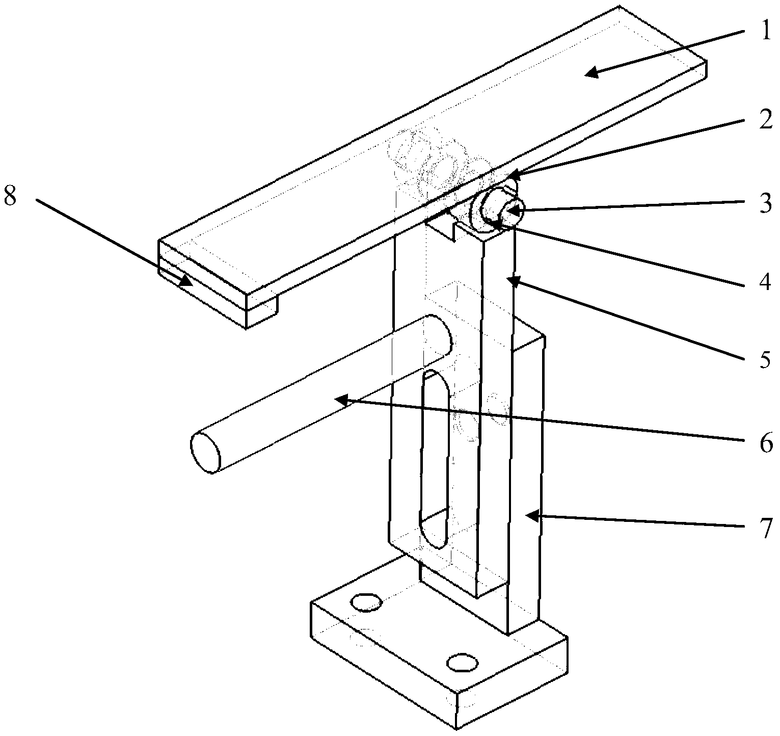
本实用新型提供了一种辅助滑料装置,包括底座(7)、翻转托板(1)、配重块(8)、以及转轴部;其中,所述翻转托板(1)、配重块(8)、以及转轴部均设置在所述底座(7)上;所述翻转托板(1)的一端设置有配重槽,所述配重块(8)安装在所述配重槽内;所述翻转托板(1)的底部设置有转轴部,所述翻转托板(1)通过所述转轴部实现转动。本实用新型相对采用气缸顶料,不需配接气路,操作简单化,且制作容易,降低成本。本实用新型能够有效的解决额外占用空间的问题,大大降低了制作成本,调整方式更为便利,减少了现场的工作时间,提高了工作效率。


