授权公布号:CN113523114B
一种车身钣金加工模具
有效
申请
2021-07-21
申请公布
2021-10-22
授权
2023-08-18
预估到期
2041-07-21
| 申请号 | CN202110826509.1 |
| 申请日 | 2021-07-21 |
| 申请公布号 | CN113523114A |
| 申请公布日 | 2021-10-22 |
| 授权公布号 | CN113523114B |
| 授权公告日 | 2023-08-18 |
| 分类号 | B21D37/10;B21D37/16 |
| 分类 | 基本上无切削的金属机械加工;金属冲压; |
| 申请人名称 | 上海千缘汽车车身模具有限公司 |
| 申请人地址 | 安徽省宣城市宣州经济开发区崇德路与麒麟大道交叉口东北角 |
专利法律状态
2024-01-16
专利申请权、专利权的转移
状态信息
专利权的转移;IPC(主分类):B21D 37/10;专利号:ZL2021108265091;登记生效日:20231229;变更事项:专利权人;变更前权利人:上海千缘汽车车身模具有限公司;变更后权利人:安徽千缘模具有限公司;变更事项:地址;变更前权利人:200135 上海市浦东新区中国(上海)自由贸易试验区康桥东路1111号;变更后权利人:242000 安徽省宣城市宣州经济开发区崇德路与麒麟大道交叉口东北角
2023-08-18
授权
状态信息
授权
2021-11-09
实质审查的生效
状态信息
实质审查的生效;IPC(主分类):B21D37/10;申请日:20210721
2021-10-22
公布
状态信息
公布
摘要
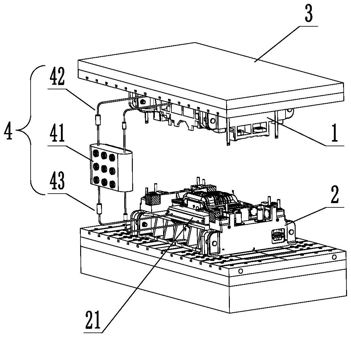
本申请涉及车身钣金加工设备的技术领域,尤其是涉及一种车身钣金加工模具,包括设置在冲床上的上模座和下模座、固定连接在上模座上的上模具和固定连接在下模座上的下模具;上模座的内部设置有上加热组件,下模座的内部设置有下加热组件,上加热组件和下加热组件设置有多个。将待加工的钣金固定在下模座上,之后通过冲床推动上模座向下移动,从而挤压钣金,使钣金产生塑性变形,打开上加热组件和下加热组件,通过上加热组件和下加热组件将上模座和下模座加热,从而使位于上模座和下模座之间的钣金温度升高,从而降低钣金的弹性,提高钣金的可塑性本申请具有减小钣金的回弹,进而提高钣金的加工精度的效果。


