授权公布号:CN212076164U
一种用于起重机吊钩的防脱落结构
有效
申请
2020-04-29
申请公布
1970-01-01
授权
2020-12-04
预估到期
2030-04-29
| 申请号 | CN202020687612.3 |
| 申请日 | 2020-04-29 |
| 授权公布号 | CN212076164U |
| 授权公告日 | 2020-12-04 |
| 分类号 | B66C1/36 |
| 分类 | 卷扬;提升;牵引; |
| 申请人名称 | 洛阳起重机厂有限公司 |
| 申请人地址 | 河南省洛阳市老城区唐宫东路10号 |
专利法律状态
2020-12-04
授权
状态信息
授权
摘要
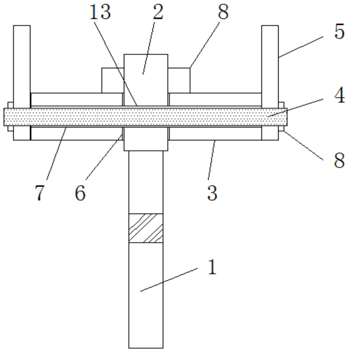
本实用新型公开了一种用于起重机吊钩的防脱落结构,包括吊钩、连接柱和第一固定横梁,所述吊钩与连接柱焊接连接,所述第一固定横梁中心处开设有竖向的第一孔槽,且第一固定横梁两侧端面开设有横向的第二孔槽,并且第一固定横梁的两侧与固定侧板相贴合,所述连接柱从第一孔槽中穿过,且连接柱的顶端螺纹连接有固定螺母,并且连接柱上开设有用于第二固定横梁穿入的通孔,所述第二固定横梁从第二孔槽中穿过,且第二固定横梁的两端贯穿固定侧板并螺纹连接有固定螺母。该用于起重机吊钩的防脱落结构在现有的螺母连接基础上,额外设置有第二固定横梁和卡板,可以加强连接柱与第一固定横梁之间的牢固性,避免吊钩出现脱落现象,安全性高。


