授权公布号:CN218661769U
一种用于电动无轨胶轮车的机电液联合制动踏板
有效
申请
2022-10-29
申请公布
1970-01-01
授权
2023-03-21
预估到期
2032-10-29
| 申请号 | CN202222946838.2 |
| 申请日 | 2022-10-29 |
| 授权公布号 | CN218661769U |
| 授权公告日 | 2023-03-21 |
| 分类号 | B60T7/06 |
| 分类 | 一般车辆; |
| 申请人名称 | 江苏上骐重工科技有限公司 |
| 申请人地址 | 江苏省泰州市靖江市新洲路18号 |
专利法律状态
2023-03-21
授权
状态信息
授权
摘要
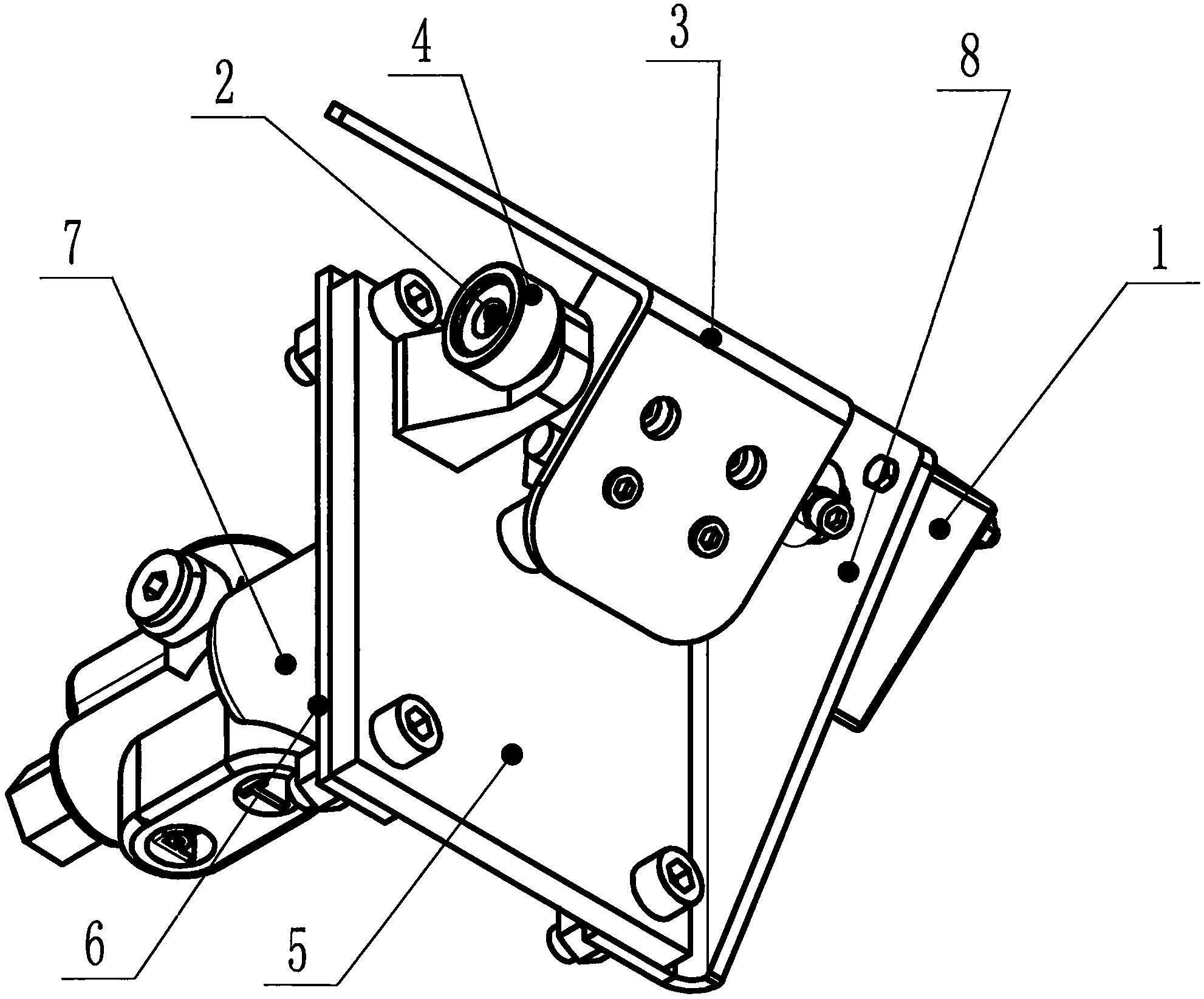
一种用于电动无轨胶轮车的机电液联合制动踏板,是由制动用角度传感器、转轴、制动踏板组件、护套、阀座、垫板、液压阀、角度传感器安装板和带永磁性材料小轴组成,转轴将制动踏板组件和阀座连为一体;角度传感器安装在角度传感器安装板上;液压阀安装在阀座下部;带永磁性材料小轴装在转轴上的孔中;带永磁性材料小轴伸入制动用角度传感器孔内,制动用角度传感器设有感应环,内部设有芯片;所述制动踏板组件中的推杆杆伸入液压阀孔中;制动时,踩下踏板,由于转轴上的永磁体转动,通过角度传感器上的感应环和芯片发送信号,迅速切断电源,同时,制动踏板组件中的推杆推动液压阀中的阀杆向下移动进行液压制动。


