授权公布号:CN212819828U
一种环保型水基焊接防飞溅剂的生产装置
有效
申请
2020-05-11
申请公布
1970-01-01
授权
2021-03-30
预估到期
2030-05-11
| 申请号 | CN202020770890.5 |
| 申请日 | 2020-05-11 |
| 授权公布号 | CN212819828U |
| 授权公告日 | 2021-03-30 |
| 分类号 | B01J19/18;B01J19/00 |
| 分类 | 一般的物理或化学的方法或装置; |
| 申请人名称 | 江苏龙蟠科技股份有限公司 |
| 申请人地址 | 江苏省南京市经济技术开发区恒通大道6号 |
专利法律状态
2021-03-30
授权
状态信息
授权
摘要
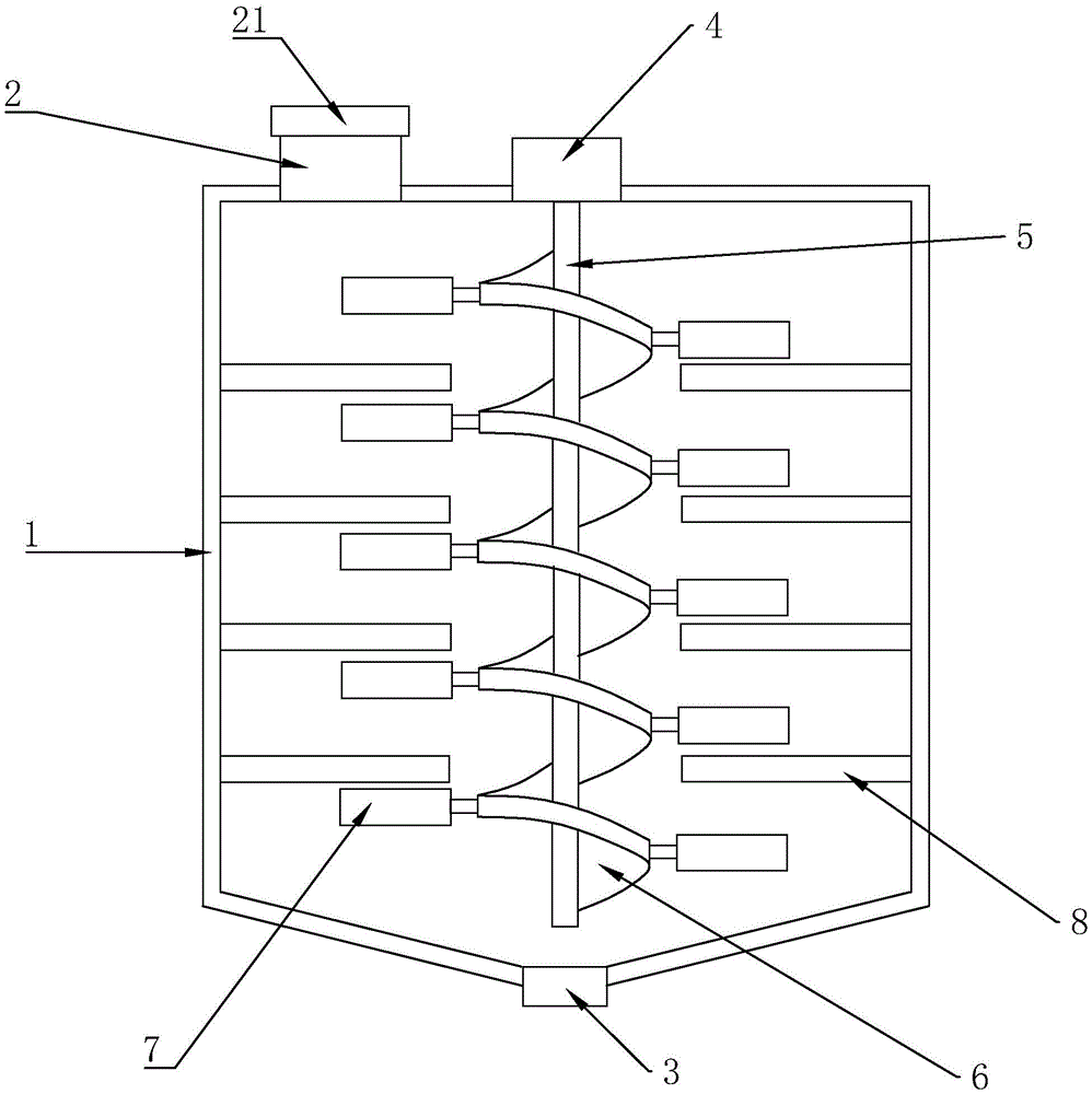
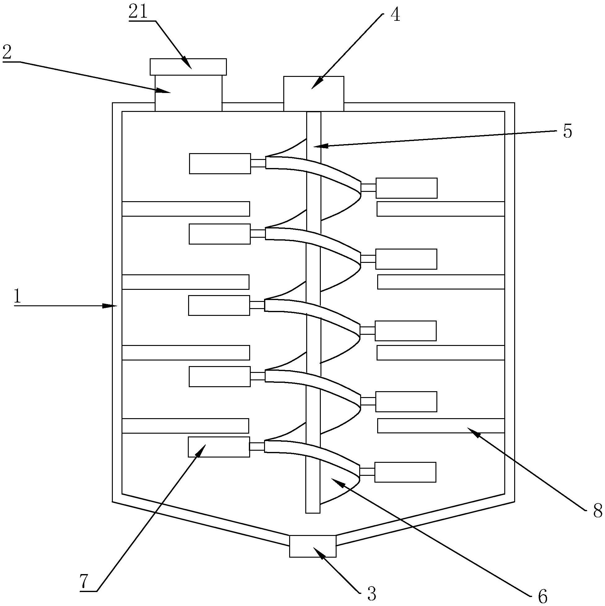
本实用新型涉及防飞溅剂生产领域,公开了一种环保型水基焊接防飞溅剂的生产装置,解决了因生产阶段搅拌混合效果不好而对防飞溅剂的性能造成影响的问题,其技术方案要点是包括搅拌罐,所述搅拌罐的顶部配置有进料管,所述搅拌罐的底部配置有出料管,所述搅拌罐配置有搅拌机构,所述搅拌机构包括旋转电机、搅拌轴以及螺旋搅拌叶,所述搅拌轴的顶端穿过所述搅拌罐的顶板并与所述旋转电机配接,所述螺旋搅拌叶均匀固定设于所述搅拌轴外侧,所述旋转电机启动会带动所述螺旋搅拌叶将物料向上搅动,使用螺旋搅拌叶使得搅拌罐内部的物料搅拌混合的效果更好。


