授权公布号:CN219404839U
双机控制混凝土搅拌站
有效
申请
2023-04-17
申请公布
1970-01-01
授权
2023-07-25
预估到期
2033-04-17
| 申请号 | CN202320844836.4 |
| 申请日 | 2023-04-17 |
| 授权公布号 | CN219404839U |
| 授权公告日 | 2023-07-25 |
| 分类号 | B28C9/02;B28C5/16;B28C7/06;B02C4/02 |
| 分类 | 加工水泥、黏土或石料; |
| 申请人名称 | 郑州市昌利机械制造有限公司 |
| 申请人地址 | 河南省郑州市荥阳市城关乡三十里铺 |
专利法律状态
2023-07-25
授权
状态信息
授权
摘要
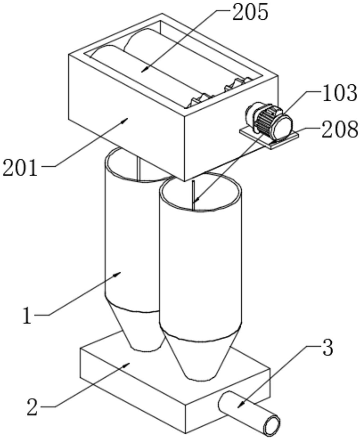
本实用新型公开了双机控制混凝土搅拌站,包括两个搅拌筒本体,两个所述搅拌筒本体的底部设置有通料箱,所述通料箱的一侧设置有出料管,两个所述搅拌筒本体的内部均设置有搅拌机构,两个所述搅拌筒本体的顶部设有转动组件,所述搅拌机构包括电动旋转板,所述电动旋转板的外壁均匀连接有三个长板,三个所述长板的一端均嵌设有长杆,所述电动旋转板的底部设置有圆环。该双机控制混凝土搅拌站,通过设置搅拌机构,实现了在使用该双机控制混凝土搅拌站的过程中,可以将搅拌筒本体内部的水泥和骨料搅拌的更加充分,在相同的时间内,增加骨料与水泥之间的混合度,使最终呈现的混凝土内部的骨料分布的更加均匀,混凝土的质量更高。


