授权公布号:CN216188692U
移动式自动输送上料装置
有效
申请
2021-11-10
申请公布
1970-01-01
授权
2022-04-05
预估到期
2031-11-10
| 申请号 | CN202122735327.1 |
| 申请日 | 2021-11-10 |
| 授权公布号 | CN216188692U |
| 授权公告日 | 2022-04-05 |
| 分类号 | B65G41/00;B65G33/24;B65G47/44;B65G33/34;B65G33/26;B28C7/10 |
| 分类 | 输送;包装;贮存;搬运薄的或细丝状材料; |
| 申请人名称 | 郑州市昌利机械制造有限公司 |
| 申请人地址 | 河南省郑州市荥阳市城关乡三十里铺 |
专利法律状态
2022-04-05
授权
状态信息
授权
摘要
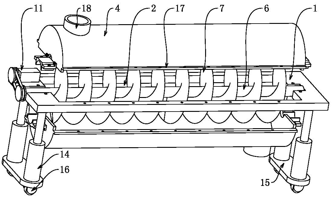
本实用新型公开了一种移动式自动输送上料装置,涉及到混泥土加工机械技术领域,该移动式自动输送上料装置,包括架板,所述架板的中部开设有上下贯通的圆弧通孔,所述架板的两端均开设有与圆弧通孔连通的插槽,所述圆弧通孔的内部转动安装有上料机构,所述上料机构的两端均插入插槽的内部;所述上料机构的外侧同轴设置有两个外壳,两个所述外壳均分别固定在架板的顶部和底部,所述上料机构的两端外侧均设置有两个定位卡板;本实用新型利用两个外壳配合架板组成上料机构的上料空间,拆卸时只需将螺母卸下就会全部分离,既方便了本装置的拆卸提高拆卸效果,同时也能够方便本装置的清洗,提高了本装置的清理效果。


