授权公布号:CN216329196U
用于双卧轴搅拌机的混凝土输送装置
有效
申请
2021-11-18
申请公布
1970-01-01
授权
2022-04-19
预估到期
2031-11-18
| 申请号 | CN202122827787.7 |
| 申请日 | 2021-11-18 |
| 授权公布号 | CN216329196U |
| 授权公告日 | 2022-04-19 |
| 分类号 | B28C7/06;B65G21/20;B65G45/12;B65G45/26 |
| 分类 | 加工水泥、黏土或石料; |
| 申请人名称 | 郑州市昌利机械制造有限公司 |
| 申请人地址 | 河南省郑州市荥阳市城关乡三十里铺 |
专利法律状态
2022-04-19
授权
状态信息
授权
摘要
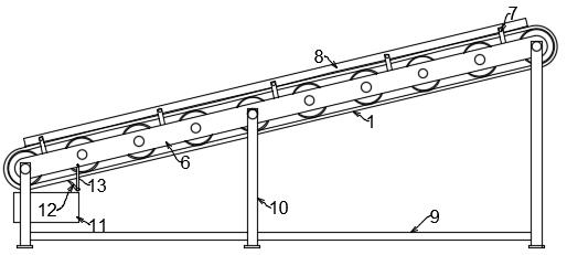
本实用新型公开了一种用于双卧轴搅拌机的混凝土输送装置,包括传送带,所述传送带的两侧分别设置有安装板,所述安装板的顶部安装有柔性挡板,还包括支撑架,所述支撑架具有与安装板固定连接的立柱,所述立柱上可拆卸地安装有收集盒,所述收集盒的上方设置有刮板。本实用新型,通过在传送带表面的两侧设置有柔性挡板,当混凝土料在传送带上进行输送时,防止砂石散落至传动辊处影响其正常转动或者造成磨损,通过在传送带的下方设置的收集盒与设置在安装板上的刮板相配合设置,在混凝土料输送至搅拌机的过程中,会在传送带的表面残留有部分粉尘或者颗粒,当移动至传送带下部分时刮板能够对粉尘颗粒进行刮除,并被收集在收集盒内。


