授权公布号:CN115319920B
一种分体式混凝土泵车底座及其自动化焊接生产线和方法
有效
申请
2022-09-01
申请公布
2022-11-11
授权
2024-03-01
预估到期
2042-09-01
| 申请号 | CN202211066036.0 |
| 申请日 | 2022-09-01 |
| 申请公布号 | CN115319920A |
| 申请公布日 | 2022-11-11 |
| 授权公布号 | CN115319920B |
| 授权公告日 | 2024-03-01 |
| 分类号 | B28C5/42;B23K37/00;B23K37/04 |
| 分类 | 加工水泥、黏土或石料; |
| 申请人名称 | 徐州徐工施维英机械有限公司 |
| 申请人地址 | 江苏省徐州市徐州经济技术开发区桃山路29号 |
专利法律状态
2024-03-01
授权
状态信息
授权
2022-11-29
实质审查的生效
状态信息
实质审查的生效;IPC(主分类):B28C5/42;申请日:20220901
2022-11-11
公布
状态信息
公布
摘要
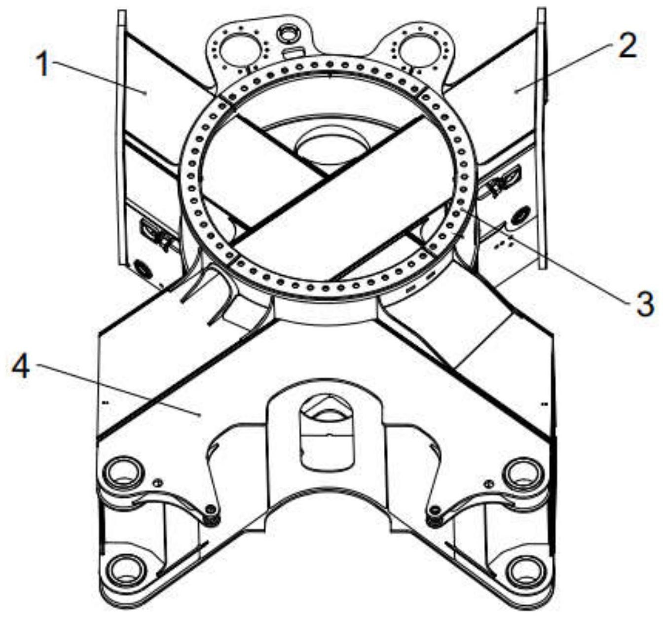
本发明公开了一种分体式混凝土泵车底座及其自动化焊接生产线和方法,底座包括左支腿箱、右支腿箱、回转支承座和后铰点,所述左支腿箱、右支腿箱、回转支承座和后铰点分别焊接成型后再拼装焊接。生产线包括依次分布的后铰点焊接工作站、右支腿箱焊接工作站、左支腿箱焊接工作站、回转支承座焊接工作站和底座主体焊接工作站,各工作站间通过AGV转运机构实现产品输送;所述后铰点焊接工作站、右支腿箱焊接工作站和左支腿箱焊接工作站中相邻的两个或者三个合并为一个联合生产站,所述联合生产站设有RGV输送机构。本发明采用底座组件分别焊接成型后再拼装焊接的方式,有利于实现自动化焊接,降低生产成本,提高焊接生产效率和焊接质量。


