授权公布号:CN218398847U
一种翻转门式布料小车结构
有效
申请
2022-06-10
申请公布
1970-01-01
授权
2023-01-31
预估到期
2032-06-10
| 申请号 | CN202221434896.0 |
| 申请日 | 2022-06-10 |
| 授权公布号 | CN218398847U |
| 授权公告日 | 2023-01-31 |
| 分类号 | B28C9/02;B28C7/06 |
| 分类 | 加工水泥、黏土或石料; |
| 申请人名称 | 青岛新型建设机械有限公司 |
| 申请人地址 | 山东省青岛市城阳区夏庄镇后古镇村(玉皇岭工业园) |
专利法律状态
2023-01-31
授权
状态信息
授权
摘要
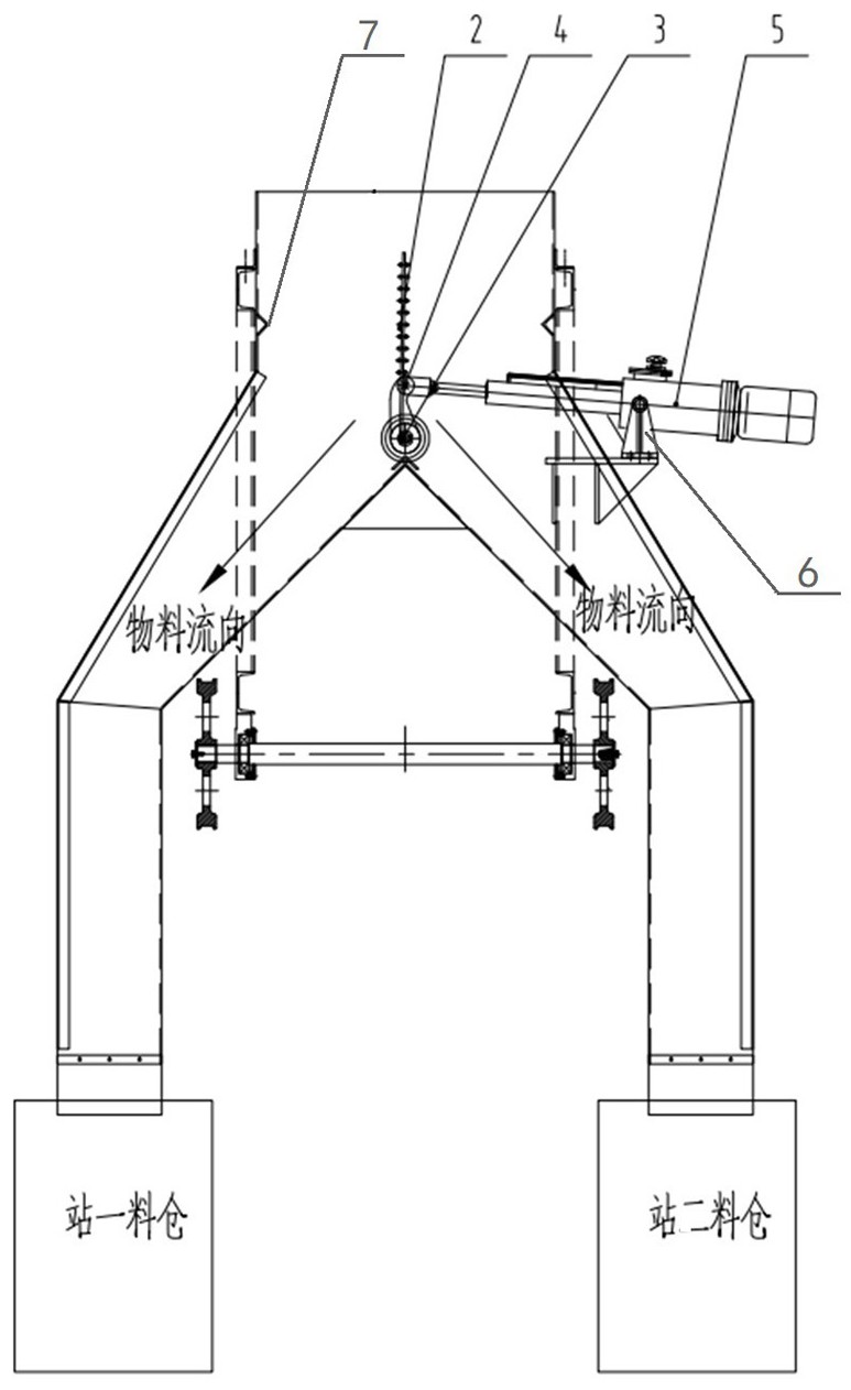
为解决混凝土搅拌站现有的布料小车不能满足两个并排料仓分别送料的问题,本实用新型提供了一种翻转门式布料小车结构,包括翻转门、转轴、拐臂、推杆;所述转轴设置在站一料仓和站二料仓通道的交点处;拐臂一端与转轴固定连接,拐臂另一端与推杆铰接,推杆铰接在推杆支架上;翻转门与转轴固定连接,翻转门可绕转轴朝站一料仓和站二料仓通道入口方向旋转;翻转门的跨度大于站一料仓和站二料仓通道入口的宽度;本实用新型能够满足同时给两套不同的搅拌站的料仓供料,实现双站共用一套上料系统减,从而减少了输送机数量,进一步节约空间,降低成本,而且维护成本低。


