授权公布号:CN214214279U
一种提升式过渡拢料斗
有效
申请
2020-11-06
申请公布
1970-01-01
授权
2021-09-17
预估到期
2030-11-06
| 申请号 | CN202022540371.2 |
| 申请日 | 2020-11-06 |
| 授权公布号 | CN214214279U |
| 授权公告日 | 2021-09-17 |
| 分类号 | B28C7/16;B66C13/08;B66D1/12 |
| 分类 | 加工水泥、黏土或石料; |
| 申请人名称 | 青岛新型建设机械有限公司 |
| 申请人地址 | 山东省青岛市城阳区夏庄镇后古镇村(玉皇岭工业园) |
专利法律状态
2021-09-17
授权
状态信息
授权
摘要
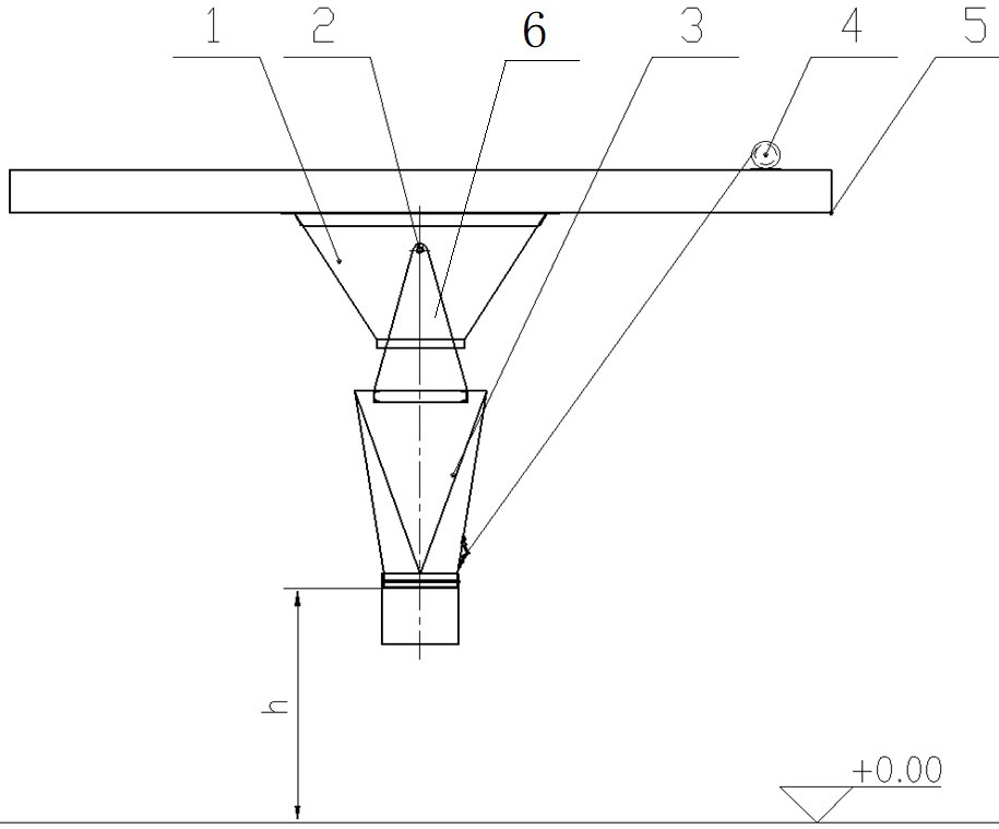
为解决现有拢料斗不能满足接料高度相差较大的设备接料、易撒料漏料的问题,本实用新型提供了一种提升式过渡拢料斗,包括固定拢料斗、转轴、过渡拢料斗、起吊机、平台;所述固定拢料斗固定在平台下方;两个转轴沿固定拢料斗轴线对称地设置在固定拢料斗的外壁上,转轴的轴向与固定拢料斗轴向垂直,转轴的一个端面与固定拢料斗侧壁相对;过渡拢料斗设置在固定拢料斗下方;两个连接架顶端分别与两个转轴连接,连接架底端与过渡拢料斗固定连接;起吊机固定在平台上,起吊机的钢丝绳端头固定在过渡拢料斗外壁的下部;其优点在于结构简单,维护成本低,可以转换卸料高度,实现不同高度设备接料,减少主机卸料门数量,降低成本,通用性好。


